Запчасти Case 1845S (078) - PISTONS, (188) DIESEL ENGINE, PRIOR TO ENGINE SERIAL NO. 2836084, CONNECTING RODS (10) - ENGINE

Схема запчастей Case 1845S - (078) - PISTONS, (188) DIESEL ENGINE, PRIOR TO ENGINE SERIAL NO. 2836084, CONNECTING RODS (10) - ENGINE
5
3
8
7
10
11
6
21
13
22
19
4
16
9
18
12
17
2
FIT
1:1
100%

Артикул

Название

Примечание

Количество

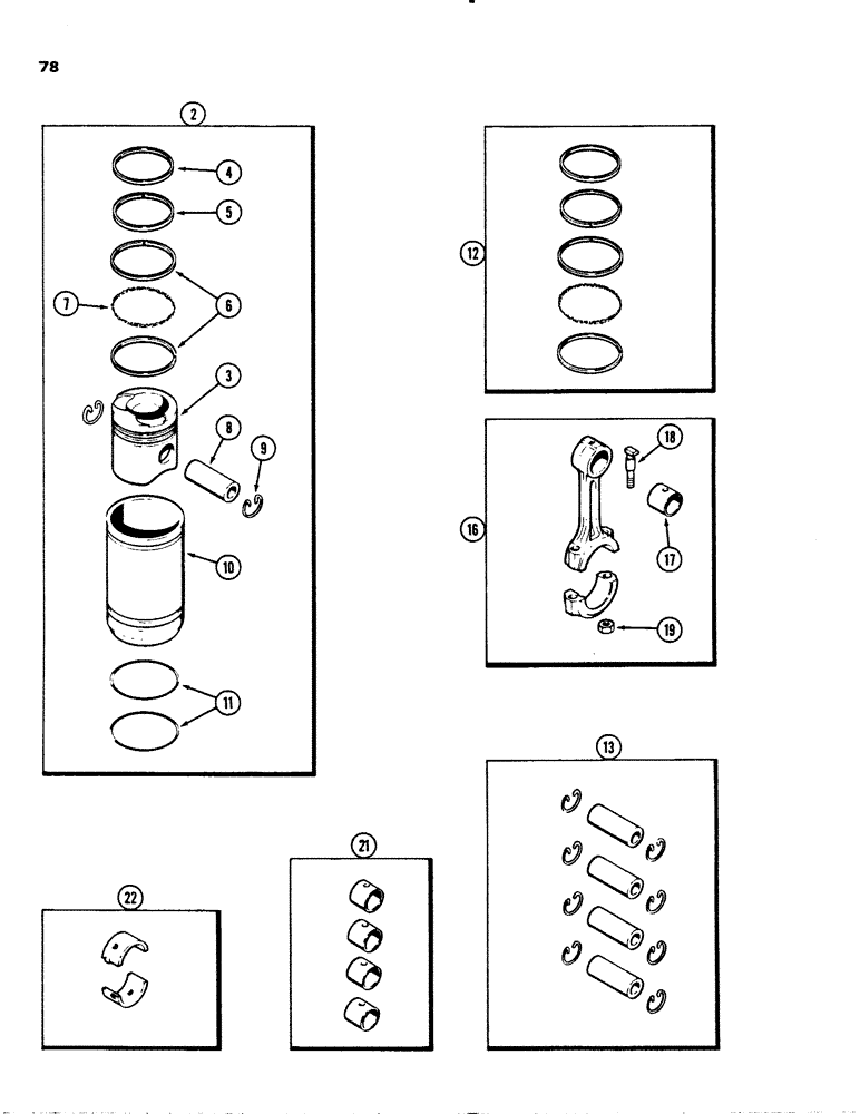
2

A44003

SLEEVE

PISTON ASSEMBLY, set of 1, Includes Ref. 1-11

4шт.

3

A51568

PISTON

1шт.

4

A51189

RING

compression, top groove, see Ref. 12, Replaces: G4819

1шт.

5

G4817

RING

compression, second groove, see Ref. 12

1шт.

6

G47155

RAIL

oil control, third groove, see Ref. 12

2шт.

7

G47174

SPRING

SPACER oil control ring, see Ref. 12

1шт.

8

A35770

PISTON PIN,31.75mm OD x 80.44mm L

PIN piston

1шт.

9

G46702

RING, LOCKING

RING piston pin retaining

2шт.

10

A39006

SLEEVE

piston

1шт.

11

G46888

O-RING,3.737" ID x 3.943" OD

sleeve sealing, 3-3/4" x 3-7/8" x 1/8", 95.25 mm x 98.42 mm x 3.17 mm

2шт.

12

A151857

PISTON RING SET

RING KIT piston re ring

4шт.

16

A136931

ROD, CONNECTING

ROD ASSEMBLY, connecting, Includes Ref. 17-19, connecting rods

4шт.

17

A136712

BUSHING

piston pin, order Ref. 21, connecting rods

1шт.

18

G49064

STEP BOLT

BOLT connecting rod bearing cap, connecting rods

2шт.

19

A51904

NUT

NUT bearing cap bolt, connecting rods

2шт.

21

A44083

KIT

BUSHING SET piston pin, set of 4, connecting rods

1шт.

22

A46050

BEARING LINER,53.66mm ID x 56.82mm OD x 26.67mm W

INSET connecting rod bearing, standard, copper-lead, set of 2, connecting rods

4шт.

Always replace all connecting rod bearing liners. Do not mix copper-lead and Aluminum linters in the same engine.

1шт.

22

A36500

SEAL

INSET connecting rod bearing, standard, aluminum, set of 2, order A46050, connecting rods

4шт.

22

A46051

BEARING LINER

INSET connecting rod bearing, 0.002" undersize, 0.0508 mm, copper-lead, set of 2,, connecting rods

4шт.

Always replace all connecting rod bearing liners. Do not mix copper-lead and Aluminum linters in the same engine.

1шт.

22

A36501

BEARING LINER

INSET connecting rod bearing, 0.002" undersize, 0.0508 mm, aluminum, set of 2, order A46051, connecting rods

4шт.

22

A46052

BEARING LINER,53.4mm ID x 56.82mm OD x 26.67mm W

INSET connecting rod bearing, 0.101" undersize, 0.254 mm, copper-lead, set of 2, connecting rods

4шт.

Always replace all connecting rod bearing liners. Do not mix copper-lead and Aluminum linters in the same engine.

1шт.

22

A36502

LINING

INSET connecting rod bearing, 0.010" undersize, 0.254 mm, aluminum, set of 2, order A46052, connecting rods

4шт.

22

A46053

BEARING LINER,53.15mm ID x 56.82mm OD x 26.67mm W

INSET connecting rod bearing, 0.020" undersize, 0.508 mm, copper-Lead, set of 2, connecting rods

4шт.

Always replace all connecting rod bearing liners. Do not mix copper-lead and Aluminum linters in the same engine.

1шт.

22

A36503

BEARING LINER

INSET connecting rod bearing, 0.020" undersize, 0.508 mm, aluminum, set of 2, order A46053, connecting rods

4шт.

22

A46054

BEARING LINER

INSET connecting rod bearing, 0.030" undersize, 0.762 mm, copper-lead, set of 2, connecting rods

2шт.

Always replace all connecting rod bearing liners. Do not mix copper-lead and Aluminum linters in the same engine.

1шт.

22

A36504

KIT

INSET connecting rod bearing, 0.030" undersize, 0.762 mm, aluminum, set of 2, order A46054, connecting rods

4шт.

Выбрано товаров: 31