Запчасти Case 40XT (07-06) - BRAKE RELEASE - MANUAL (07) - BRAKES

Схема запчастей Case 40XT - (07-06) - BRAKE RELEASE - MANUAL (07) - BRAKES
6
18
12
10
1
9
8
15
7
7
11
8
6
4
12
2
19
13
3
14
17
11
9
16
20
18
7
5
FIT
1:1
100%

Артикул

Название

Примечание

Количество

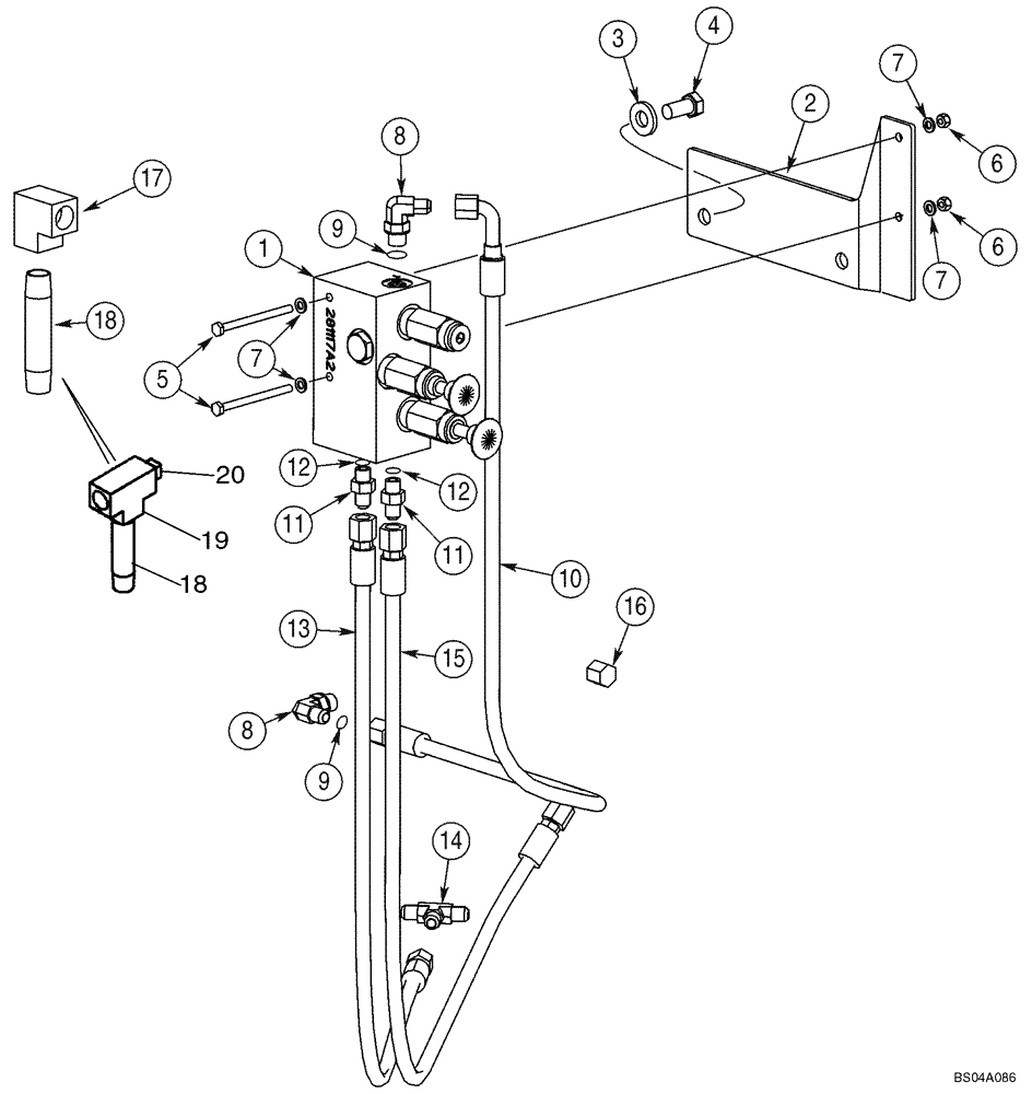
1

281117A2

PUMP

See Figure 07-07

1шт.

2

426691A1

BRACKET

Mounting

1шт.

3

896-15012

WASHER,13.5mm ID x 28mm OD x 4mm Thk

13.5 x 28 x 4 mm

2шт.

4

614-12025

BOLT,Hex, M12 x 1.75 x 25mm, Cl 8.8, Full Thd

2шт.

5

814-6080

BOLT,Hex, M6 x 1 x 80mm, Cl 8.8

2шт.

6

832-41406

NUT,M6 x 1, Cl 8

2шт.

7

895-11006

WASHER,6.6mm ID x 12mm OD x 1.6mm Thk

4шт.

8

218-5105

ELBOW,90 Degree Elbow, 9/16" - 18 Male JIC x 9/16" - 18 Male ORB

9/16 fl x adj or, 90°; Attaches To Motor Drain Manifold; Incl. 9

2шт.

10

432275A1

HOSE ASSY.

952 mm, 37-1/2 in.; Pump Supply

1шт.

11

218-5057

HYD CONNECTOR,9/16" - 18 JIC x 9/16" - 18 ORB

Incl. Ref. 12

2шт.

13

432274A1

HOSE ASSY.

930 mm, 36-5/8 in.; Pump To Brake

1шт.

14

218-593

TEE,9/16"-18, 37 Degree

9/16 fl x fl x fl

1шт.

15

432273A1

HOSE ASSY.

1212 mm, 47-5/32 in.; Valve To Pump; See Figure 07-03, Ref 13

1шт.

16

218-754

CAP,37 Degree, 9/16"-18

See Figure 07-03, Ref 7

1шт.

17

217-1054

ELBOW,1/2" - 14 NPTF Female

1/8 PT, 90°; Models With Heater

1шт.

18

221-194

PIPE,Nipple, 1/2" NPT x 4"

1/2 PT x 4; Models With Heater

1шт.

19

217-1163

TEE,1/2"-14 Female

1/2 x1/2 x12/; Models With Heater

1шт.

20

217-517

DRAIN PLUG,Sq Hd, 1/2"-14 NPTF

1/2; Models With Heater

1шт.

9

237-6006

O-RING,0.078" Thk x 0.468" ID, -906, Cl 6, 90 Duro

1шт.

12

237-6006

O-RING,0.078" Thk x 0.468" ID, -906, Cl 6, 90 Duro

1шт.

Выбрано товаров: 0