Запчасти Case 40XT (04-35) - SPECIAL PARTS FOR ITALY - BRAKE LIGHT HARNESS (04) - ELECTRICAL SYSTEMS

Схема запчастей Case 40XT - (04-35) - SPECIAL PARTS FOR ITALY - BRAKE LIGHT HARNESS (04) - ELECTRICAL SYSTEMS
1
5
3
1
2
4
2
FIT
1:1
100%

Артикул

Название

Примечание

Количество

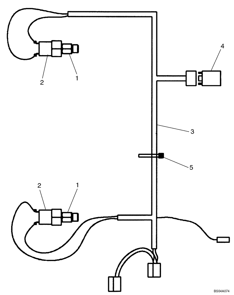
1

D137424

FITTING

1/8 NPTF x -6

2шт.

2

427698A1

SWITCH

Brake Light

2шт.

3

373546A1

HARNESS

Brake Light

1шт.

4

388457A1

RELAY

Time Delayed

1шт.

5

L18331

CABLE TIE,375.9mm L, Nylon, Black

CABLE STRAP

3шт.

Выбрано товаров: 5