Запчасти Case 40XT (06-21A) - MOTOR ASSY, NORTH AMERICAN MODELS WITH MECHANICAL BRAKES (06) - POWER TRAIN

Схема запчастей Case 40XT - (06-21A) - MOTOR ASSY, NORTH AMERICAN MODELS WITH MECHANICAL BRAKES (06) - POWER TRAIN
14
1
22
5
7
26
30
16
31
11
25
6
29
3
29
27
12
4
15
24
23
2
13
10
8
9
21
19
20
28
18
17
FIT
1:1
100%

Артикул

Название

Примечание

Количество

87457449

MOTOR, HYDRAULIC

Incl. Ref. 1 - 31; North American Models With Hydraulic Brakes, See Figure 06-03; ; No Longer Available Order 87524993

2шт.

47508312R

REMAN-HYD MOTOR

40 XT Reman For New P/N 87457449

2шт.

47508312C

CORE-MOTOR HYDRAULIC

Return Number

2шт.

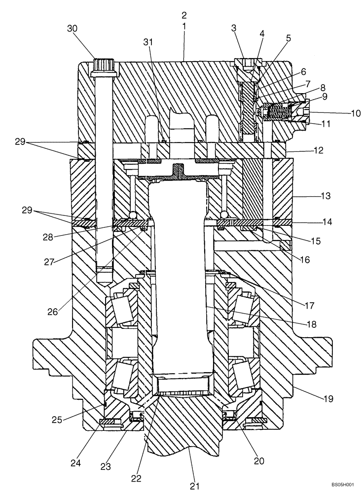
1

324592A1

CAP

Cover; Incl. 2

1шт.

2

9625178

PLUG,9/16" - 18 ORB

Incl. 237-6006 O-Ring

1шт.

3

282804A1

PLUG

Incl. 12

1шт.

4

365475A1

PISTON ASSY.

1шт.

5

438417A1

SLEEVE

2шт.

6

251506A1

SPRING

Shuttle Valve

2шт.

7

251511A1

VALVE POPPET

2шт.

8

282788A1

SHIM

Shim

1шт.

9

324593A1

SPRING

Relief Valve

1шт.

10

438416A1

VALVE POPPET

1шт.

11

282787A1

PLUG

1шт.

12

324594A1

PLATE

Valve

1шт.

13

438418A1

GEAR SET

1шт.

14

324597A1

LARGE PLATE

PLATE, LARGE Thrust

1шт.

15

NSS

NOT SOLD SEPARAT

Ring, Back-up; Order 324603A1

1шт.

16

NSS

NOT SOLD SEPARAT

Seal; Order 324603A1

4шт.

17

NSS

NOT SOLD SEPARAT

Seal; Shaft Face; Order 324603A1

1шт.

18

438420A1

DRIVE SHAFT

1шт.

19

438419A1

BEARING HOUSING

Bearing

1шт.

20

324800A1

SEAL

Shaft; Included In Seal Kit 324603A1

1шт.

21

87457448

SHAFT

28 Teeth

1шт.

22

324602A1

SPACER

1шт.

23

438423A1

RETAINER

Front

1шт.

23

47508312R

REMAN-HYD MOTOR

40XT Reman for New PN 438423A1

1шт.

23

47508312C

CORE-MOTOR HYDRAULIC

Return Number

1шт.

24

100-21393

SNAP RING,3.938", Int, #393

1шт.

25

NSS

NOT SOLD SEPARAT

O-Ring; Order 324603A1

1шт.

26

NSS

NOT SOLD SEPARAT

O-Ring; Order 324603A1

1шт.

27

NSS

NOT SOLD SEPARAT

Ring, Backup; Order 324603A1

1шт.

28

140784A1

BALL

2шт.

29

NSS

NOT SOLD SEPARAT

Seal; Order 324603A1

1шт.

30

438421A1

12 PT SCREW

12 PT

9шт.

31

NSS

NOT SOLD SEPARAT

O-Ring; Order 324603A1

1шт.

324603A1

SEAL KIT

Seals; Incl. 15 - 17, 20, 25 - 27, 29, 31

1шт.

Выбрано товаров: 37