Запчасти Case 70XT (09-39) - BACKHOE - CONTROL TOWER (D100) (09) - CHASSIS

Схема запчастей Case 70XT - (09-39) - BACKHOE - CONTROL TOWER (D100) (09) - CHASSIS
1
7
3
8
4
11
9
12
6
10
5
2
FIT
1:1
100%

Артикул

Название

Примечание

Количество

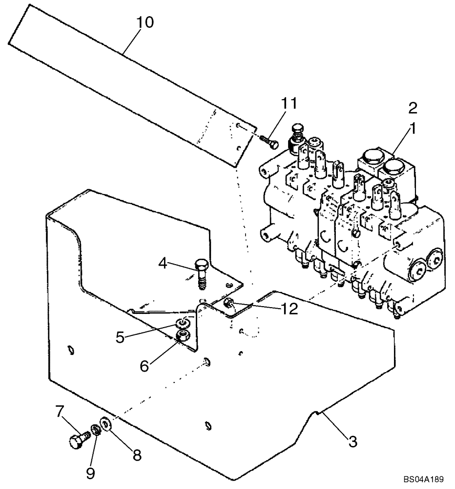
1

H674300

VALVE

Control; Backhoe; Manufactured By Dukes; Incl. Figure 08-37 - 08-39

1шт.

2

87400023

VALVE

Control; Backhoe; Replaces H674300; See Figure 08-37 - 08-39

1шт.

3

H437850

BRACKET

Valve Mounting

1шт.

4

413-620

BOLT,Hex, 3/8" - 16 x 1-1/4", Gr 5

4шт.

5

496-21041

WASHER,13/32" x 13/16" x .089", HDN

4шт.

6

230-4216

LOCK NUT,3/8"-16, GA

4шт.

7

414-512

BOLT,Hex, 5/16" - 24 x 3/4", Gr 5

3шт.

8

H426775

WASHER

3шт.

9

492-11031

LOCK WASHER,5/16"

3шт.

10

H437849

LARGE PLATE

PLATE, LARGE Decal Mounting

1шт.

11

413-412

BOLT,Hex, 1/4" - 20 x 3/4", Gr 5

4шт.

12

230-4214

LOCK NUT,1/4"-20, GA

4шт.

Выбрано товаров: 12