Запчасти Case 75XT (08-14) - VALVE, CONTROL - MOUNTING (08) - HYDRAULICS

Схема запчастей Case 75XT - (08-14) - VALVE, CONTROL - MOUNTING (08) - HYDRAULICS
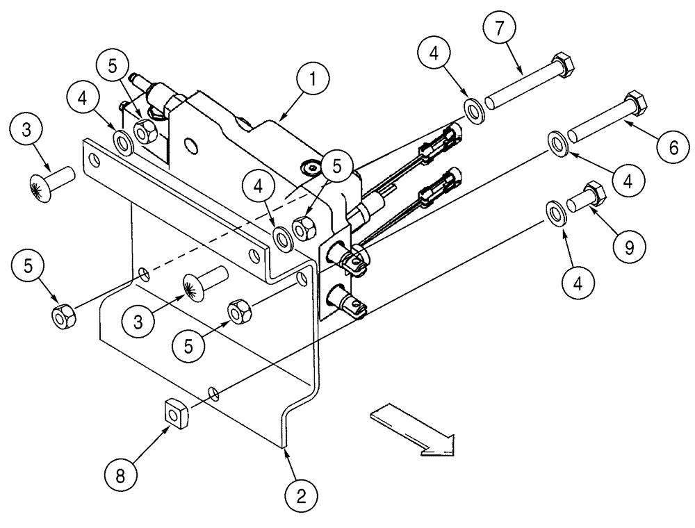
5
4
2
3
5
8
1
6
4
3
4
9
4
5
4
7
5
FIT
1:1
100%

Артикул

Название

Примечание

Количество

Loader

1шт.

North American Models JAF0318922-

1шт.

European Models JAF0352169-

1шт.

1

409062A2

VALVE

Loader, Two Spool, See Figure See Figure 08-15 - 08-17

1шт.

1

87431787

VALVE

Control; Replaces 409062A2; See Figure See Figure 08-15 - 08-17

1шт.

2

419095A1

LARGE PLATE

PLATE, LARGE Valve Mounting

1шт.

3

811-10025

CARRIAGE BOLT,Sht Sq Nk, M10 x 1.5 x 25mm, Cl 8.8

2шт.

5

832-41410

NUT,M10 x 1.5, Cl 10

4шт.

6

814-10060

BOLT,Hex, M10 x 1.5 x 60mm, Cl 8.8

1шт.

7

814-10070

BOLT,Hex, M10 x 1.5 x 70mm, Cl 8.8

1шт.

8

309096A1

SQUARE NUT,Square, M10 x 1.5, LH Thd, Cl 5A

M10

1шт.

9

614-10020

BOLT,Hex, M10 x 1.5 x 20mm, Cl 8.8, Full Thd

1шт.

4

895-11010

WASHER,11mm ID x 20mm OD x 2mm Thk

5шт.

Выбрано товаров: 13