Запчасти Case 75XT (09-26) - DOOR, REAR - WITH SOUNDPROOFING (EUROPE) (09) - CHASSIS

Схема запчастей Case 75XT - (09-26) - DOOR, REAR - WITH SOUNDPROOFING (EUROPE) (09) - CHASSIS
14
21
9
18
7
33
22
17
6
5
3
16
16
20
19
24
12
15
11
19
23
8
17
28
30
13
32
1
15
27
4
14
25
26
10
29
31
2
FIT
1:1
100%

Артикул

Название

Примечание

Количество

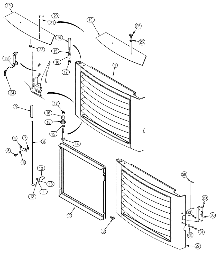
1

305660A1

DOOR

Rear, Without Door Latch, Ref 30, If Used

1шт.

2

280672A2

DEFLECTOR

1шт.

3

844-8020

BOLT,Hvy Hex, M8 x 20mm, Cl 8.8

4шт.

4

194152A1

STAPLE

1шт.

5

614-8025

BOLT,Hex, M8 x 1.25 x 25mm, Cl 8.8, Full Thd

2шт.

7

832-41308

NUT,M8 x 1.25, Cl 10

2шт.

8

194280A1

ROD

1шт.

9

1978473C1

HANDLE

1шт.

10

282510A1

U-BOLT

BOLT "U"

1шт.

11

895-11006

WASHER,6.6mm ID x 12mm OD x 1.6mm Thk

2шт.

12

832-41306

NUT,M6 x 1, Cl 10

2шт.

13

H373779

LARGE PLATE

PLATE, LARGE

1шт.

14

827-16060

BOLT,Hex, M16 x 2 x 60mm, Cl 10.9

2шт.

15

896-11016

WASHER,17.5mm ID x 30mm OD x 4mm Thk

2шт.

16

248461A1

BUSHING,16.5mm ID x 24mm OD x 22mm L

2шт.

17

832-41316

NUT,M16 x 2, Cl 10

2шт.

18

248988A1

THRUST WASHER

1шт.

19

307942A1

INSULATOR

7шт.

20

614-5025

BOLT,Hex, M5 x 0.8 x 25mm, Cl 8.8, Full Thd

M5 x 25, If Used

14шт.

21

895-11005

WASHER,5.5mm ID x 10mm OD x 1mm Thk

If Used

14шт.

22

E99641

CAP

Plastic, If Used

14шт.

23

297245A1

CABLE

Door Stop, Includes H439276, Ref 24

1шт.

24

H439276

PIN,12mm OD x 50mm L

Lock

1шт.

25

348452A1

FASTENER,Push-In, 37mm L, Nylon

7,14 hole dia, Push-In

14шт.

26

348434A1

WASHER,7.14mm ID x 44.5mm OD x 1.3mm Thk

7,14 ID x 44,5 OD

14шт.

24

434584A1

DOOR

Rear, With Door Latch, Ref 30, If Used, Used With 2, 3, 19, 25, 26, For Mounting, See Ref 14 - 18

1шт.

25

434565A1

ROD

Latch Pull

1шт.

26

380751A1

NUT

Push

1шт.

27

R55002

LATCH

1шт.

28

814-6035

BOLT,Hex, M6 x 1 x 35mm, Cl 8.8

2шт.

29

895-25006

WASHER,6.6mm ID x 18mm OD x 1.6mm Thk

2шт.

30

832-41406

NUT,M6 x 1, Cl 8

2шт.

6

895-15008

WASHER,9mm ID x 20mm OD x 1.6mm Thk

2шт.

Выбрано товаров: 0