Запчасти Case 75XT (09-48) - WINDOWS - SIDE AND TOP (09) - CHASSIS

Схема запчастей Case 75XT - (09-48) - WINDOWS - SIDE AND TOP (09) - CHASSIS
7
14
31
29
3
21
38
9
19
23
10
24
18
2
15
16
20
5
33
29
1
13
30
20
19
20
37
34
32
11
19
19
14
8
2
17
12
3
35
23
28
36
27
19
31
FIT
1:1
100%

Артикул

Название

Примечание

Количество

North American Models JAF0318922-

1шт.

European Models JAF0352169-

1шт.

426793A2

GLASS

Left Hand and Right Hand, Includes 1 - 33

1шт.

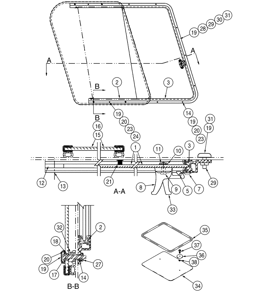
1

438333A1

GLASS

Slide

1шт.

2

NSS

NOT SOLD SEPARAT

19-21/32 in, Seal, Flocked Rubber, Cut From 438307A1

2шт.

3

NSS

NOT SOLD SEPARAT

83-5/32 in, Seal, Flocked Rubber, Cut From 438307A1

3шт.

5

438308A1

CATCH

1шт.

7

438309A1

SCREW

2шт.

8

438310A1

LOCK

Lower

1шт.

9

438311A1

SCREW

2шт.

10

438312A1

SPACER

2шт.

11

438313A1

POST

2шт.

12

438314A1

STOP

2шт.

13

438315A1

SCREW

2шт.

14

438316A1

INSERT

8шт.

15

438334A1

GLASS

Left-Hand

1шт.

16

438335A1

GLASS

Right-Hand

1шт.

17

438319A1

SCREW

4шт.

18

438312A1

SPACER

4шт.

19

438321A1

COVER,Screw

Screw

13шт.

20

438322A1

WASHER

10шт.

21

438323A1

SEAL

1шт.

23

438324A1

SCREW

6шт.

24

438325A1

INSERT

2шт.

27

438326A1

NUT

4шт.

28

438327A1

INSERT

3шт.

29

438328A1

SCREW

3шт.

30

438329A1

JAM NUT

3шт.

31

438330A1

WASHER

3шт.

32

438336A1

SPACER

4шт.

33

438331A1

LOCK

Upper

1шт.

34

239916A1

WINDOW

Top

1шт.

35

240657A1

SEALING STRIP

1310 mm (51-5/8 in), Cut From 382086A1

1шт.

36

E99641

CAP

2шт.

37

840-1520

SCREW,Phillips Drive, Pan HD, M5 x 20mm, Cl 4.8

2шт.

38

103777A1

SEALING WASHER

1шт.

Выбрано товаров: 36