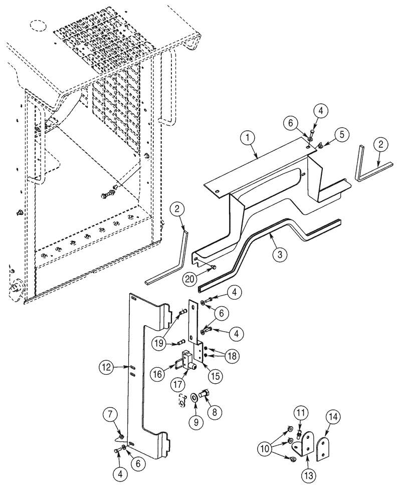
Запчасти Case 85XT (09-44) - DOOR, FRONT MOUNTING, FRAME, NORTH AMERICAN MODELS JAF0352234-, EUROPEAN MODELS JAF0352715- (09) - CHASSIS

Схема запчастей Case 85XT - (09-44) - DOOR, FRONT MOUNTING, FRAME, NORTH AMERICAN MODELS JAF0352234-, EUROPEAN MODELS JAF0352715- (09) - CHASSIS
2
6
4
11
4
17
8
6
3
18
20
12
13
4
10
1
4
15
14
19
16
7
9
6
5
2
FIT
1:1
100%

Артикул

Название

Примечание

Количество

1

405114A1

FRAME

Overhead Door

1шт.

2

338192A1

DOOR SEAL

Overhead Frame

2шт.

3

394121A2

DOOR SEAL

Door Frame Bracket

1шт.

4

614-6020

BOLT,Hex, M6 x 1 x 20mm, Cl 8.8, Full Thd

8шт.

5

825-5146

SERRATED NUT,M6, Flg Ser

2шт.

6

895-30100

WASHER,6.6mm ID x 15mm OD x 1.6mm Thk

6.6 x 15 x 1.6

8шт.

7

825-5146

SERRATED NUT,M6, Flg Ser

4шт.

8

614-12020

BOLT,Hex, M12 x 1.75 x 20mm, Cl 8.8, Full Thd

1шт.

9

895-15012

WASHER,M12 x 28 x 2.5

13.5 x 28 x 2.5 mm

1шт.

10

825-2408

FLANGE NUT,M8 x 1.25, Flg, Cl 8

4шт.

11

189609A1

BALL STUD,M8 x 1.25

M8

2шт.

12

418241A1

BRACKET

1шт.

13

430475A1

BRACKET

Spring Mount

1шт.

14

430474A1

SPACER

Gas Spring Bracket

1шт.

15

419282A2

BRACKET

Two Vertical Slots

1шт.

15

87397013

BRACKET

Two Horizontal Slots; Replaces 419282A2

1шт.

16

H435814

U-BOLT

1шт.

17

392269A2

SWITCH

Front Door, See Figure 04-21

1шт.

18

193-1003

NUT,Keps, w/LW,#6-32

2шт.

19

419434A1

INSERT

2шт.

20

779-14613

SELF-TAP SCREW,Hex Hd, M6.3 x 13

2шт.

Выбрано товаров: 21