Запчасти Case 85XT (09-45) - DOOR, FRONT LATCH, NORTH AMERICAN MODELS -JAF0352233, EUROPEAN MODELS -JAF0352714 (09) - CHASSIS

Схема запчастей Case 85XT - (09-45) - DOOR, FRONT LATCH, NORTH AMERICAN MODELS -JAF0352233, EUROPEAN MODELS -JAF0352714 (09) - CHASSIS
3
15
14
12
8
17
6
16
11
5
4
7
10
9
6
2
5
1
13
FIT
1:1
100%

Артикул

Название

Примечание

Количество

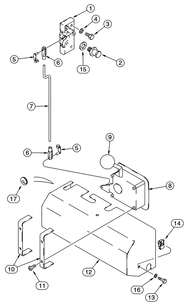
1

233541A1

LATCH ASSY.

1шт.

2

233564A1

BOLT

1шт.

3

614-6020

BOLT,Hex, M6 x 1 x 20mm, Cl 8.8, Full Thd

4шт.

4

895-11006

WASHER,6.6mm ID x 12mm OD x 1.6mm Thk

4шт.

5

254885A1

CLIP,ELECTRICAL

2шт.

6

254886A1

END FITTING

2шт.

7

255649A1

ROD

1шт.

8

233540A1

HANDLE

Includes: Ref. 9

1шт.

9

C10487

BALL KNOB

1шт.

Part of handle P/N 233540A1

1шт.

10

233542A3

SUPPORT ASSY.

Replaces: 233542A2

2шт.

11

840-1516

SCREW,Pan, M5 x 16mm, Cl 4.8

4шт.

12

255331A3

COVER

Replaces: 255331A2

1шт.

13

614-6016

BOLT,Hex, M6 x 1 x 16mm, Cl 8.8, Full Thd

3шт.

14

833-40306

SPRING NUT,M6, U

3шт.

15

895-15012

WASHER,M12 x 28 x 2.5

13.5 x 28 x 2.5 mm

2шт.

16

895-11006

WASHER,6.6mm ID x 12mm OD x 1.6mm Thk

3шт.

17

248-1210

GROMMET,1/4" ID x 1" x .062", Diag Cut

3/4

1шт.

Выбрано товаров: 18