Запчасти Case 85XT (09-21) - SEAT, MOUNTING - NON-SUSPENSION (09) - CHASSIS

Схема запчастей Case 85XT - (09-21) - SEAT, MOUNTING - NON-SUSPENSION (09) - CHASSIS
3
13
12
5
10
16
18
11
10
5
2
14
9
20
2
19
13
bc02b148
1
4
7
3
6
14
15
8
21
17
FIT
1:1
100%

Артикул

Название

Примечание

Количество

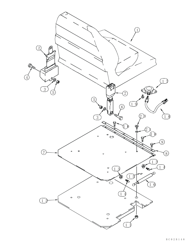
1

400680A1

SEAT

Incl. 17

1шт.

2

249116A1

SAFETY BELT ,50.80 mm W

Includes 3

1шт.

3

NSS

NOT SOLD SEPARAT

Washer

2шт.

4

614-10030

BOLT,Hex, M10 x 1.5 x 30mm, Cl 8.8, Full Thd

1шт.

5

832-41410

NUT,M10 x 1.5, Cl 10

2шт.

6

814-10055

BOLT,Hex, M10 x 1.5 x 55mm, Cl 8.8

1шт.

7

302136A1

LARGE PLATE

PLATE, LARGE

1шт.

8

259875A1

CROSSMEMBER

1шт.

9

614-6020

BOLT,Hex, M6 x 1 x 20mm, Cl 8.8, Full Thd

4шт.

10

614-6030

BOLT,Hex, M6 x 1 x 30mm, Cl 8.8, Full Thd

2шт.

11

832-41408

NUT,M8 x 1.25, Cl 10

M8

4шт.

12

245174A1

INSULATOR

1шт.

13

825-5148

SERRATED NUT,M8, Flg Ser

2шт.

14

189609A1

BALL STUD,M8 x 1.25

M8

2шт.

15

254307A1

CLIP

2шт.

16

189787A2

SHOCK ABSORBER

1шт.

17

242306A2

SWITCH

Operator Presence

1шт.

18

302137A2

HARNESS

Seat; Two Connector

1шт.

19

NSS

NOT SOLD SEPARAT

Bolt

4шт.

20

348452A1

FASTENER,Push-In, 37mm L, Nylon

7,14 hole dia; If Used

5шт.

21

348434A1

WASHER,7.14mm ID x 44.5mm OD x 1.3mm Thk

7,14 ID x 44,5 OD; If Used

5шт.

Выбрано товаров: 21