Запчасти Case 90XT (08-17) - VALVE, CONTROL MOUNTING, LOADER, NORTH AMERICAN MODELS JAF0320050-, EUROPEAN MODELS JAF0274262- (08) - HYDRAULICS

Схема запчастей Case 90XT - (08-17) - VALVE, CONTROL MOUNTING, LOADER, NORTH AMERICAN MODELS JAF0320050-, EUROPEAN MODELS JAF0274262- (08) - HYDRAULICS
1
3
4
4
5
4
7
9
5
5
8
6
5
2
3
4
4
FIT
1:1
100%

Артикул

Название

Примечание

Количество

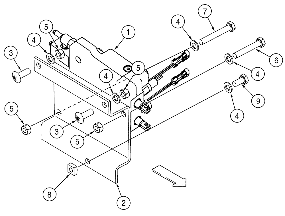
1

409062A1

VALVE

Loader, Two Spool, See Figure 8-20, No Longer Availabe, Order 409062A2, If Used

1шт.

1

409062A2

VALVE

Loader, Two Spool, See Figure 8-20

1шт.

87431787

VALVE

Control; Replaces 409062A2

1шт.

2

419095A1

LARGE PLATE

PLATE, LARGE Valve Mounting

1шт.

3

811-10030

CARRIAGE BOLT,Sht Sq Nk, M10 x 1.5 x 30mm, Cl 8.8

2шт.

5

832-41410

NUT,M10 x 1.5, Cl 10

4шт.

6

814-10060

BOLT,Hex, M10 x 1.5 x 60mm, Cl 8.8

1шт.

7

814-10070

BOLT,Hex, M10 x 1.5 x 70mm, Cl 8.8

1шт.

8

309096A1

SQUARE NUT,Square, M10 x 1.5, LH Thd, Cl 5A

M10

1шт.

9

614-10020

BOLT,Hex, M10 x 1.5 x 20mm, Cl 8.8, Full Thd

1шт.

4

895-11010

WASHER,11mm ID x 20mm OD x 2mm Thk

1шт.

Выбрано товаров: 11