Качественные детали и логистика
Оригинальные и аналоговые запчасти с доставкой по России, Казахстану и Беларуси
©2022 PartSell ООО "Система" ИНН 2463123282 ОГРН 1212400004838
Центральный офис: г. Красноярск, Академика Киренского, д.87, пом.4
Телефон: 8 (800) 777-65-74 Email: zakaz@partsell.ru
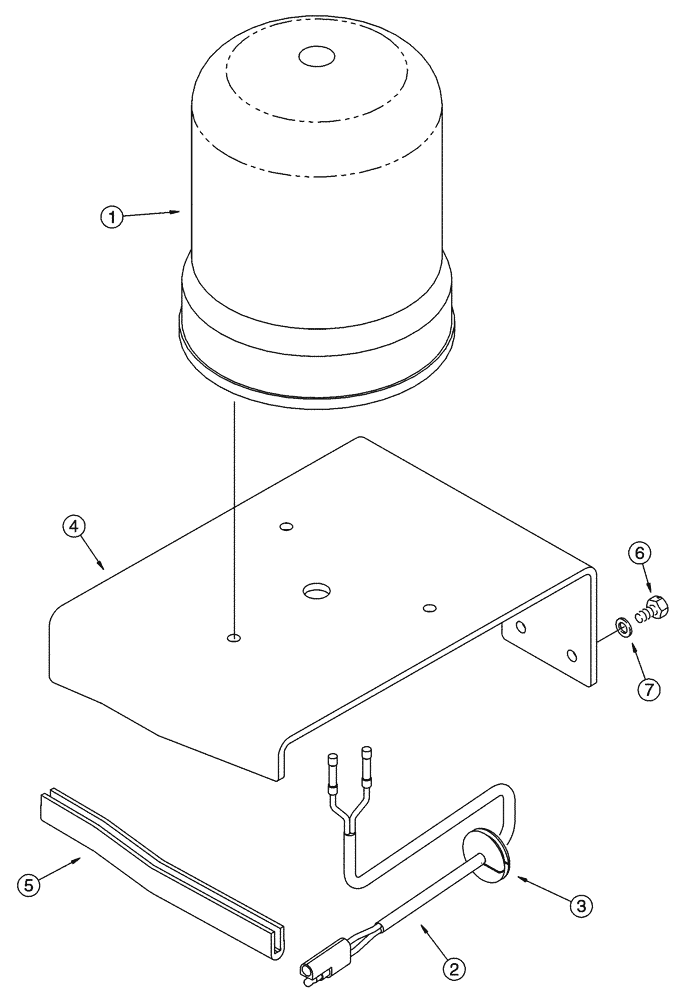
(04-28) - LAMP ASSEMBLY BEACON, ROTATING NORTH AMERICA
№
Артикул
Название
Примечание
Количество
1
E99128
BEACON ROTATING
BEACON No Service Parts
1шт.
2
293828A1
HARNESS
Rotating Beacon
3
248-1237
GROMMET,1/4" ID x 1" Groove Dia, Diag Cut
4
293469A1
SUPPORT
5
293470A1
ORNAMENTAL STRIP
6
779-14619
SELF-TAP SCREW,Hex Hd, M6.3 x 19
M6.3 st x 19
3шт.
7
895-11006
WASHER,6.6mm ID x 12mm OD x 1.6mm Thk
Выбрано товаров: 0