Запчасти Case 90XT (09-07) - BUCKETS, LOADER - 2083 MM (82 IN) WIDE BUCKET (09) - CHASSIS

Схема запчастей Case 90XT - (09-07) - BUCKETS, LOADER - 2083 MM (82 IN) WIDE BUCKET (09) - CHASSIS
7
14
11
4
1
6
13
5
bc02b051
11
12
2
9
3
10
8
FIT
1:1
100%

Артикул

Название

Примечание

Количество

REF

INSTRUCTION

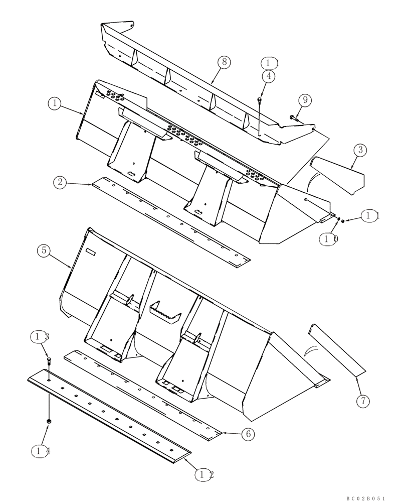
2083 mm (82 in) WIDE BUCKET

1шт.

1

192538A2

BUCKET

2083 mm (82 in); Machinery Item; Incl. 2, 3

1шт.

2

183948A2

EDGE, CUTTING

Welded On

1шт.

3

245109A2

EDGE, CUTTING

Side; Welded On

2шт.

4

857-12030

BOLT,Hvy Hex, M12 x 30mm, Cl 10.9

Light Material

4шт.

5

190079A1

BUCKET

BUCKET 2083 mm (82 in); Machinery Item; Order From WholeGoods; Incl. 6, 7

1шт.

6

183948A2

EDGE, CUTTING

Welded On

1шт.

7

H438935

EDGE, CUTTING

Side; Welded On; Extension

2шт.

8

192972A2

RISER

Used With 192538A2

1шт.

9

811-12035

CARRIAGE BOLT,Sht Sq Nk, M12 x 1.75 x 35mm, Cl 8.8

12 x 35 mm

2шт.

10

86625256

WASHER,13.3mm ID x 28.5mm OD x 4mm Thk

2шт.

11

829-1412

NUT,M12, Cl 10.9

Bolt-On Cutting Edge

2шт.

12

299336A1

EDGE, CUTTING

2083 mm (82 in); 10 Hole Pattern

1шт.

13

420-21036

CARRIAGE BOLT,#3, 5/8" - 11 x 2 1/4", Gr 8

13шт.

14

329-1010

NUT,5/8"-11, G8

13шт.

Выбрано товаров: 15