Запчасти Case 90XT (09-35) - WINDOWS - SIDE AND TOP (09) - CHASSIS

Схема запчастей Case 90XT - (09-35) - WINDOWS - SIDE AND TOP (09) - CHASSIS
23
12
20
37
29
19
14
13
31
19
14
39
10
18
30
11
19
5
8
3
34
20
2
23
28
16
38
33
32
29
1
35
27
2
36
40
19
3
7
15
31
9
21
20
19
17
24
FIT
1:1
100%

Артикул

Название

Примечание

Количество

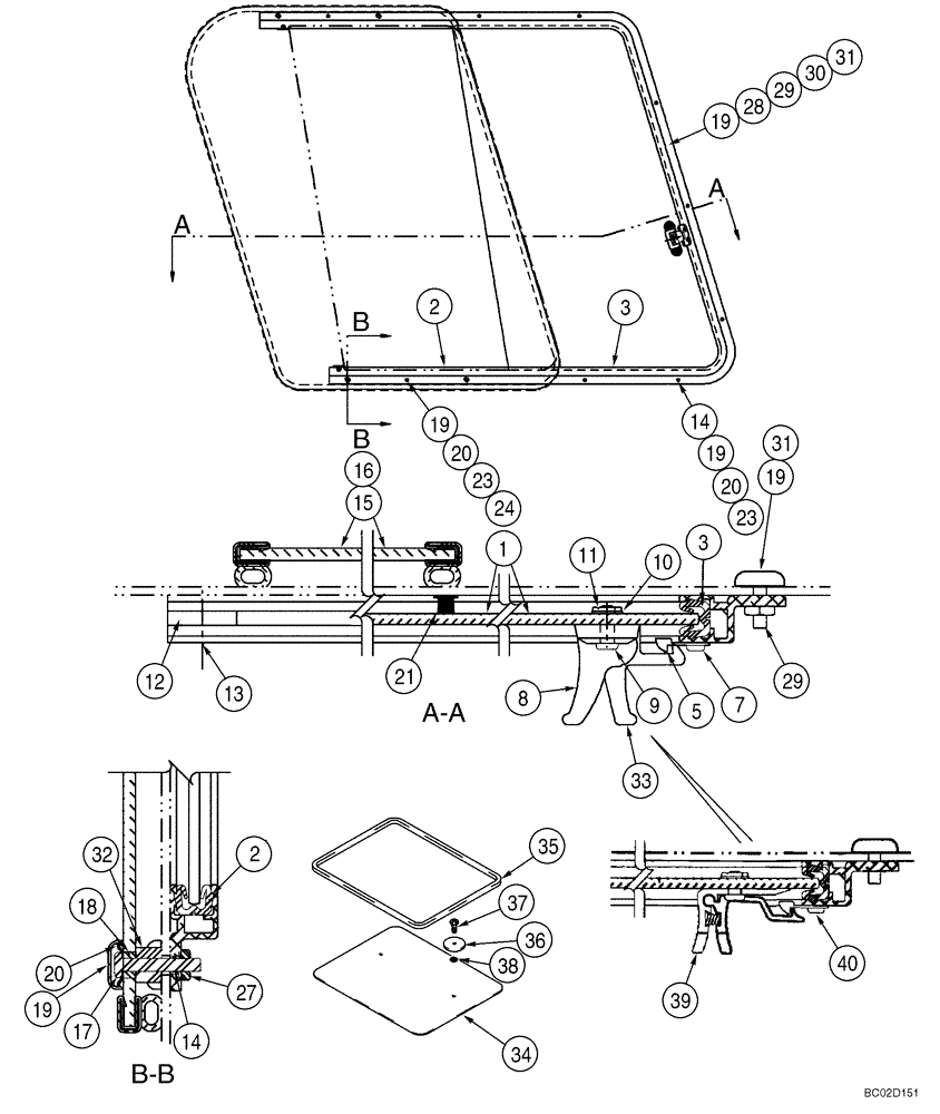
426793A2

GLASS

Window Assy; Left Hand and Right Hand; Incl. 1 - 33

1шт.

1

438333A1

GLASS

Slide

2шт.

2

NSS

NOT SOLD SEPARAT

Seal; 19-21/32 in; Flocked Rubber; Cut From 438307A1

2шт.

3

NSS

NOT SOLD SEPARAT

Seal; 83-5/32 in; Flocked Rubber; Cut From 438307A1

3шт.

5

438308A1

CATCH

2шт.

7

438309A1

SCREW

4шт.

8

438310A1

LOCK

Lower; No Longer Available; Order 448312A1

2шт.

9

438311A1

SCREW

16mm; Use With 438310A1 and 438331A1

4шт.

10

438312A1

SPACER

4шт.

11

438313A1

POST

4шт.

12

438314A1

STOP

4шт.

13

438315A1

SCREW

4шт.

14

438316A1

INSERT

16шт.

15

438334A1

GLASS

ASSY, Left-Hand; Includes (1) 87412537 121 inch Seal, 87412535 Glass, & (1) 87446355 Trim-Lok Seal

1шт.

16

438335A1

GLASS

ASSY, Right-Hand; Includes (1) 87412537 121 inch Seal, 87412535 Glass, & (1) 87446355 Trim-Lok Seal

1шт.

17

438319A1

SCREW

8шт.

18

438312A1

SPACER

8шт.

19

438321A1

COVER,Screw

28шт.

20

438322A1

WASHER

20шт.

21

438323A1

SEAL

2шт.

23

438324A1

SCREW

12шт.

24

438325A1

INSERT

4шт.

27

438326A1

NUT

8шт.

28

438327A1

INSERT

8шт.

29

438328A1

SCREW

8шт.

30

438329A1

JAM NUT

No Longer Furnished

1шт.

31

438330A1

WASHER

8шт.

32

438336A1

SPACER

8шт.

33

438331A1

LOCK

Upper; No Longer Furnished; Order 448312A1

1шт.

34

239916A1

WINDOW

Top

1шт.

35

240657A1

SEALING STRIP

1310 mm (51-5/8 in); Cut From 382086A1

1шт.

36

E99641

CAP

2шт.

37

840-1520

SCREW,Phillips Drive, Pan HD, M5 x 20mm, Cl 4.8

2шт.

38

103777A1

SEALING WASHER

1шт.

39

448312A1

LOCK

Assy

2шт.

40

448311A1

SCREW

12 mm

4шт.

Выбрано товаров: 36