Запчасти Case 95XT (08-15) - LOADER CONTROL VALVE, MOUNTING (NORTH AMERICA JAF0311357- / EUROPE JAF0274360-) (08) - HYDRAULICS

Схема запчастей Case 95XT - (08-15) - LOADER CONTROL VALVE, MOUNTING (NORTH AMERICA JAF0311357- / EUROPE JAF0274360-) (08) - HYDRAULICS
6
4
7
2
4
3
5
5
4
9
4
8
1
3
4
5
5
FIT
1:1
100%

Артикул

Название

Примечание

Количество

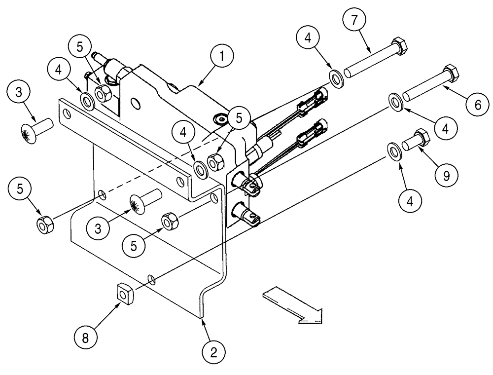
1

409062A2

VALVE

Loader, Two Spool, See Page(s) 8-65, 8-67, 8-77 - 8-83

1шт.

2

419095A1

LARGE PLATE

PLATE, LARGE Valve Mounting

1шт.

3

811-10025

CARRIAGE BOLT,Sht Sq Nk, M10 x 1.5 x 25mm, Cl 8.8

2шт.

5

832-41410

NUT,M10 x 1.5, Cl 10

4шт.

6

814-10060

BOLT,Hex, M10 x 1.5 x 60mm, Cl 8.8

1шт.

7

814-10070

BOLT,Hex, M10 x 1.5 x 70mm, Cl 8.8

1шт.

8

309096A1

SQUARE NUT,Square, M10 x 1.5, LH Thd, Cl 5A

M10

1шт.

9

614-10020

BOLT,Hex, M10 x 1.5 x 20mm, Cl 8.8, Full Thd

1шт.

4

895-11010

WASHER,11mm ID x 20mm OD x 2mm Thk

5шт.

Выбрано товаров: 9