Запчасти Case 95XT (09-48) - DOOR, FRONT - MOUNTING FRAME (NORTH AMERICA JAF0311357- / EUROPE JAF0274360-) (09) - CHASSIS/ATTACHMENTS

Схема запчастей Case 95XT - (09-48) - DOOR, FRONT - MOUNTING FRAME (NORTH AMERICA JAF0311357- / EUROPE JAF0274360-) (09) - CHASSIS/ATTACHMENTS
16
14
3
7
15
20
5
19
4
11
10
2
6
8
18
4
17
13
6
4
2
1
12
9
4
6
FIT
1:1
100%

Артикул

Название

Примечание

Количество

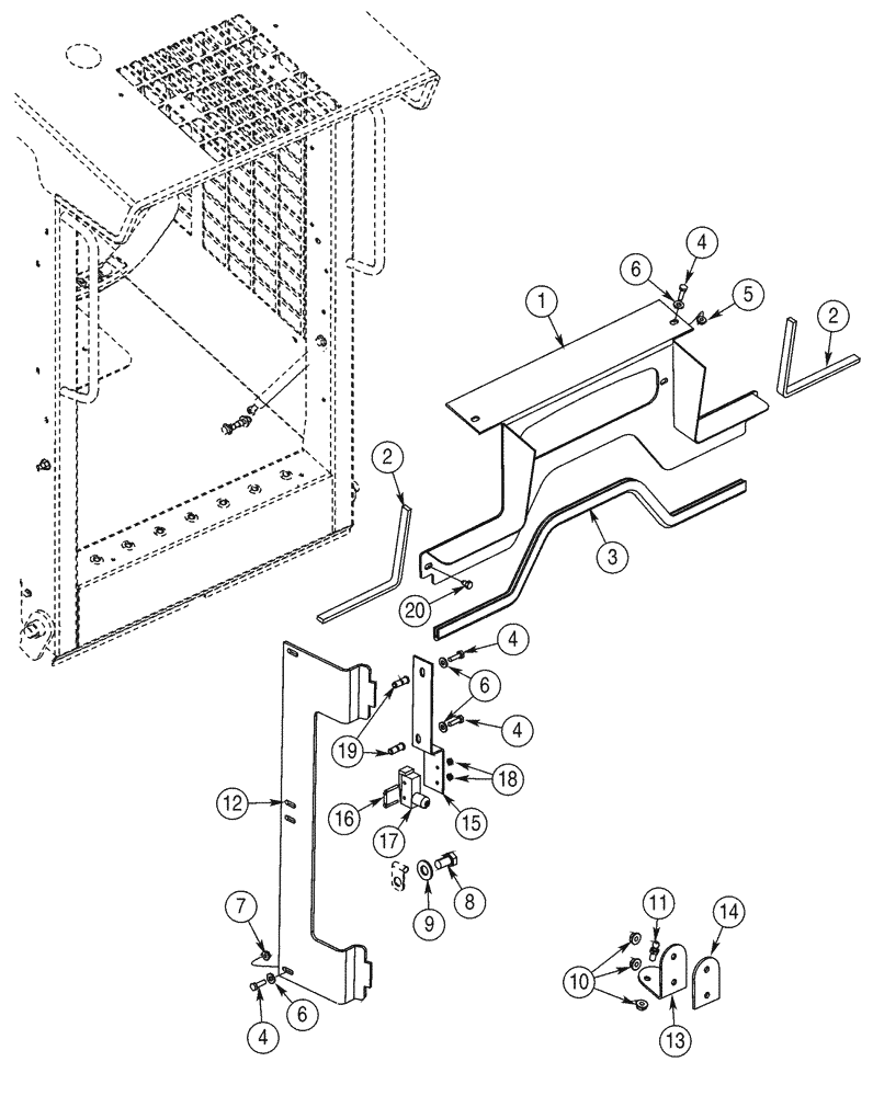
1

405114A1

FRAME

Overhead Door

1шт.

2

338192A1

DOOR SEAL

Overhead Frame

2шт.

3

394121A2

DOOR SEAL

Door Frame Bracket

1шт.

4

614-6020

BOLT,Hex, M6 x 1 x 20mm, Cl 8.8, Full Thd

8шт.

5

825-5146

SERRATED NUT,M6, Flg Ser

2шт.

6

895-30100

WASHER,6.6mm ID x 15mm OD x 1.6mm Thk

6,6 x 15 x 1,6

8шт.

7

825-5146

SERRATED NUT,M6, Flg Ser

4шт.

8

614-12020

BOLT,Hex, M12 x 1.75 x 20mm, Cl 8.8, Full Thd

1шт.

9

895-15012

WASHER,M12 x 28 x 2.5

13,5 x 28 x 2,5 mm

1шт.

10

825-2408

FLANGE NUT,M8 x 1.25, Flg, Cl 8

4шт.

11

189609A1

BALL STUD,M8 x 1.25

M8

2шт.

12

418241A1

BRACKET

1шт.

13

430475A1

BRACKET

Spring Mount

1шт.

14

430474A1

SPACER

Gas Spring Bracket

1шт.

15

419282A2

BRACKET

Two Vertical Slots

1шт.

15

87397013

BRACKET

Two Horizontal Slots; Replaces 419282A2

1шт.

16

H435814

U-BOLT

1шт.

17

392269A2

SWITCH

Front Door, See Page(s) 4-55D

1шт.

18

193-1003

NUT,Keps, w/LW,#6-32

2шт.

19

419434A1

INSERT

2шт.

20

779-14613

SELF-TAP SCREW,Hex Hd, M6.3 x 13

2шт.

Выбрано товаров: 0