Запчасти Case 95XT (09-57) - BACKHOE - CONTROL TOWER (NORTH AMERICA), D125 BACKHOE (09) - CHASSIS/ATTACHMENTS

Схема запчастей Case 95XT - (09-57) - BACKHOE - CONTROL TOWER (NORTH AMERICA), D125 BACKHOE (09) - CHASSIS/ATTACHMENTS
3
1
6
4
11
5
14
12
13
2a
3a
10a
9
2a
2
10
2
7
15
8
FIT
1:1
100%

Артикул

Название

Примечание

Количество

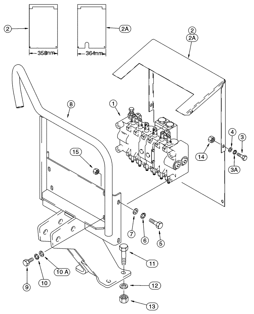
1

H674500

VALVE

Backhoe, See Page(s) 8-191 - 8-227

1шт.

2

H438359

COVER

Without opening at bottom; If equipped

1шт.

2a

257301A1

SHEET

With opening at bottom, If equipped

1шт.

3

413-516

BOLT,Hex, 5/16" - 18 x 1", Gr 5

4шт.

3a

492-11031

LOCK WASHER,5/16"

4шт.

4

496-11034

WASHER,11/32" x 11/16" x 1/16", HDN

4шт.

5

413-616

BOLT,Hex, 3/8" - 16 x 1", Gr 5

4шт.

6

492-11038

LOCK WASHER,3/8"

4шт.

7

496-21041

WASHER,13/32" x 13/16" x .089", HDN

4шт.

8

246205A1

BRACKET

No Longer Available, Order H674133, Ref. 8A

1шт.

8a

H674133

CONSOLE

1шт.

9

414-512

BOLT,Hex, 5/16" - 24 x 3/4", Gr 5

3шт.

10

492-11031

LOCK WASHER,5/16"

3шт.

10a

496-11034

WASHER,11/32" x 11/16" x 1/16", HDN

3шт.

11

413-844

BOLT,Hex, 1/2" - 13 x 2-3/4", Gr 5

4шт.

12

496-21053

WASHER,17/32" x 1 1/16" x .134"

4шт.

13

230-4218

LOCK NUT,1/2"-13, GA

4шт.

14

232-4115

LOCK NUT,5/16"-18, GC

4шт.

15

232-4116

NUT,3/8"-16, GC

4шт.

Выбрано товаров: 19