Запчасти Case 95XT (03-09) - WASTEGATE SYSTEM, 4T-390 EMISSIONS CERTIFIED ENGINE (NORTH AMERICA JAF0237964-) (03) - FUEL SYSTEM

Схема запчастей Case 95XT - (03-09) - WASTEGATE SYSTEM, 4T-390 EMISSIONS CERTIFIED ENGINE (NORTH AMERICA JAF0237964-) (03) - FUEL SYSTEM
3
5
7
3
2
3
2
6
3
8
4
1
FIT
1:1
100%

Артикул

Название

Примечание

Количество

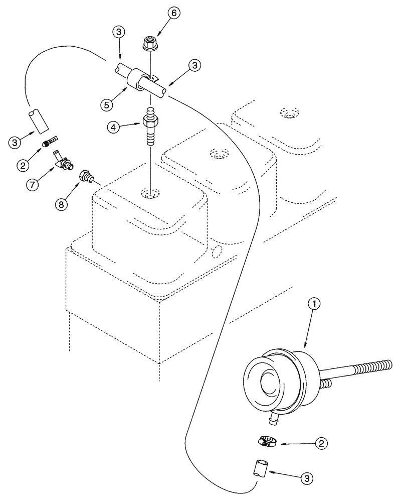
1

J539946

ACTIVATOR

See Page(s) 2-43

1шт.

2

214-1404

HOSE CLAMP,#04, 0.25" - 0.62", Type F Worm

2шт.

3

J926113

HOSE,466.00 mm

1шт.

4

J920344

FLANGE BOLT

M8

1шт.

5

J920348

CLIP,ELECTRICAL

1шт.

6

825-2408

FLANGE NUT,M8 x 1.25, Flg, Cl 8

1шт.

7

217-281

FITTING,45 Degree Elbow, 1/4" Hose Barb x 1/8" Male NPTF

1шт.

8

221-87

REDUCER,1/2" NPT x 1/8" NPT

1шт.

Выбрано товаров: 8