Запчасти Case 95XT (04-27) - LAMP ASSEMBLY - BEACON, ROTATING (NORTH AMERICA) (04) - ELECTRICAL SYSTEMS

Схема запчастей Case 95XT - (04-27) - LAMP ASSEMBLY - BEACON, ROTATING (NORTH AMERICA) (04) - ELECTRICAL SYSTEMS
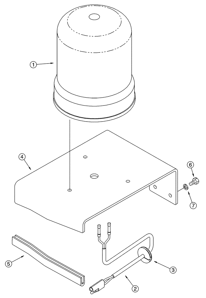
4
1
3
7
5
2
6
FIT
1:1
100%

Артикул

Название

Примечание

Количество

1

E99128

BEACON ROTATING

BEACON No Service Parts

1шт.

2

293828A1

HARNESS

Rotating Beacon

1шт.

3

248-1237

GROMMET,1/4" ID x 1" Groove Dia, Diag Cut

No Longer Used, Order 87530614

1шт.

3

87530614

GROMMET

1шт.

4

293469A1

SUPPORT

1шт.

5

293470A1

ORNAMENTAL STRIP

1шт.

6

779-14619

SELF-TAP SCREW,Hex Hd, M6.3 x 19

M6,3 st x 19

3шт.

7

895-11006

WASHER,6.6mm ID x 12mm OD x 1.6mm Thk

3шт.

Выбрано товаров: 8