Запчасти Case 686G (7-02A) - BRAKE VALVE MOUNTING AND RELATED PARTS (ASN 686G JFE0000705; 686GXR JFE0001847; 688G JFE0003612) (07) - BRAKES

Схема запчастей Case 686G - (7-02A) - BRAKE VALVE MOUNTING AND RELATED PARTS (ASN 686G JFE0000705; 686GXR JFE0001847; 688G JFE0003612) (07) - BRAKES
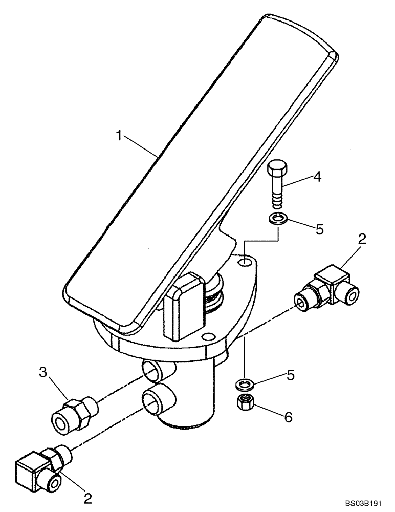
3
6
4
5
2
1
2
5
FIT
1:1
100%

Артикул

Название

Примечание

Количество

86989597

VALVE

Brake

1шт.

Incl. 1 - 3

1шт.

1

317109A1

VALVE, BRAKE

With Pedal

1шт.

See Figure 7-04

1шт.

2

309961A1

ADAPTER

90 Degree

2шт.

3

309970A1

ADAPTER

Straight

1шт.

4

614-8025

BOLT,Hex, M8 x 1.25 x 25mm, Cl 8.8, Full Thd

3шт.

5

896-11008

WASHER,9mm ID x 17mm OD x 2mm Thk

6шт.

6

829-1408

NUT,Hex, M8 x 1.25, Cl 10.9

3шт.

Выбрано товаров: 9