Запчасти Case 686G (8-02) - HYDRAULIC TANK (08) - HYDRAULICS

Схема запчастей Case 686G - (8-02) - HYDRAULIC TANK (08) - HYDRAULICS
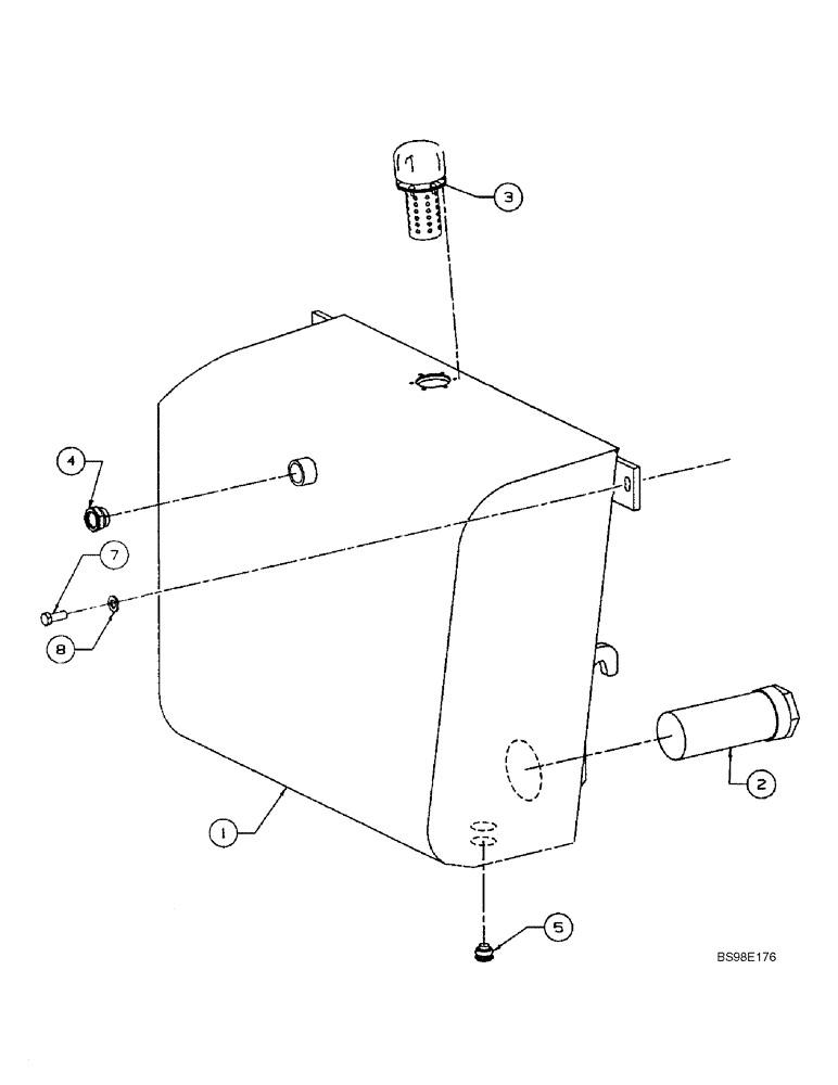
1
8
2
5
4
3
7
FIT
1:1
100%

Артикул

Название

Примечание

Количество

1

367843A1

TANK, HYDRAULIC OIL

1шт.

Incl. 2 - 5

1шт.

For All 686G Models

1шт.

686GXR Prior To P.I.N. JFE0001848

1шт.

688G Prior To P.I.N. JFE0003613

1шт.

1

87421418

TANK, HYDRAULIC OIL

Tank, Hydraulic Oil

1шт.

686GXR P.I.N. JFE0001848 And After

1шт.

688G P.I.N. JFE0003613 And After

1шт.

2

369777A1

STRAINER ASSY.

1шт.

3

365218A1

CAP

Breather, With Gasket

1шт.

4

316317A1

GAUGE

Sight

1шт.

Used With 367843A1 Tank

1шт.

4

87412874

GAUGE

1шт.

Used With 87421418 Tank

1шт.

5

316312A1

PLUG

1шт.

6

87421408

SCREW

Screw, Special

1шт.

686GXR P.I.N. JFE0001848 And After

1шт.

688G P.I.N. JFE0003613 And After

1шт.

Not Illustrated

1шт.

7

614-12030

BOLT,Hex, M12 x 1.75 x 30mm, Cl 8.8, Full Thd

2шт.

Used With 367843A1 Tank

1шт.

7

628-12035

BOLT,Hex, M12 x 1.75 x 35mm, Cl 10.9, Full Thd

2шт.

Used With 87421418 Tank

1шт.

8

495-21056

WASHER,1/2"

9/16 x 1-3/8 x 7/64

2шт.

9

906059R1

WASHER,13mm ID x 30mm OD x 6mm Thk

2шт.

Used With 87418087 Tank

1шт.

Not Illustrated

1шт.

Выбрано товаров: 27