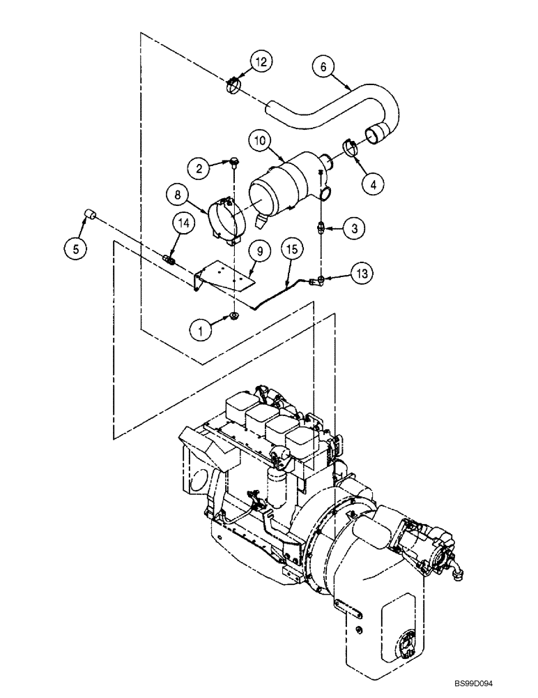
Запчасти Case 686G (2-10) - AIR CLEANER AND AIR INTAKE - NATURALLY ASPIRATED ENGINE (02) - ENGINE

Схема запчастей Case 686G - (2-10) - AIR CLEANER AND AIR INTAKE - NATURALLY ASPIRATED ENGINE (02) - ENGINE
14
15
5
9
6
1
12
2
4
13
10
8
3
FIT
1:1
100%

Артикул

Название

Примечание

Количество

1

318500A1

NUT

2шт.

2

905-8016

BOLT,Hex Flg, M8 x 16mm

2шт.

3

217-1079

HYD CONNECTOR,1/8" - 27 NPTF

1/8 PT x 1-1/16

1шт.

4

316976A1

CLAMP

1шт.

5

359588A1

INDICATOR

Air Restriction

1шт.

6

317107A1

LARGE HOSE

HOSE,LARGE Air Intake

1шт.

8

317083A1

BRACKET

1шт.

9

359589A1

BRACKET

1шт.

10

317066A1

FILTER ASSY

Air Cleaner

1шт.

See Figure 2-14

1шт.

12

317390A1

CLAMP

1шт.

13

359595A1

ELBOW

1шт.

14

359596A1

CONNECTOR, ELEC

CONNECTOR

1шт.

15

359598A1

TUBE

Air Cleaner To Indicator

1шт.

Выбрано товаров: 0