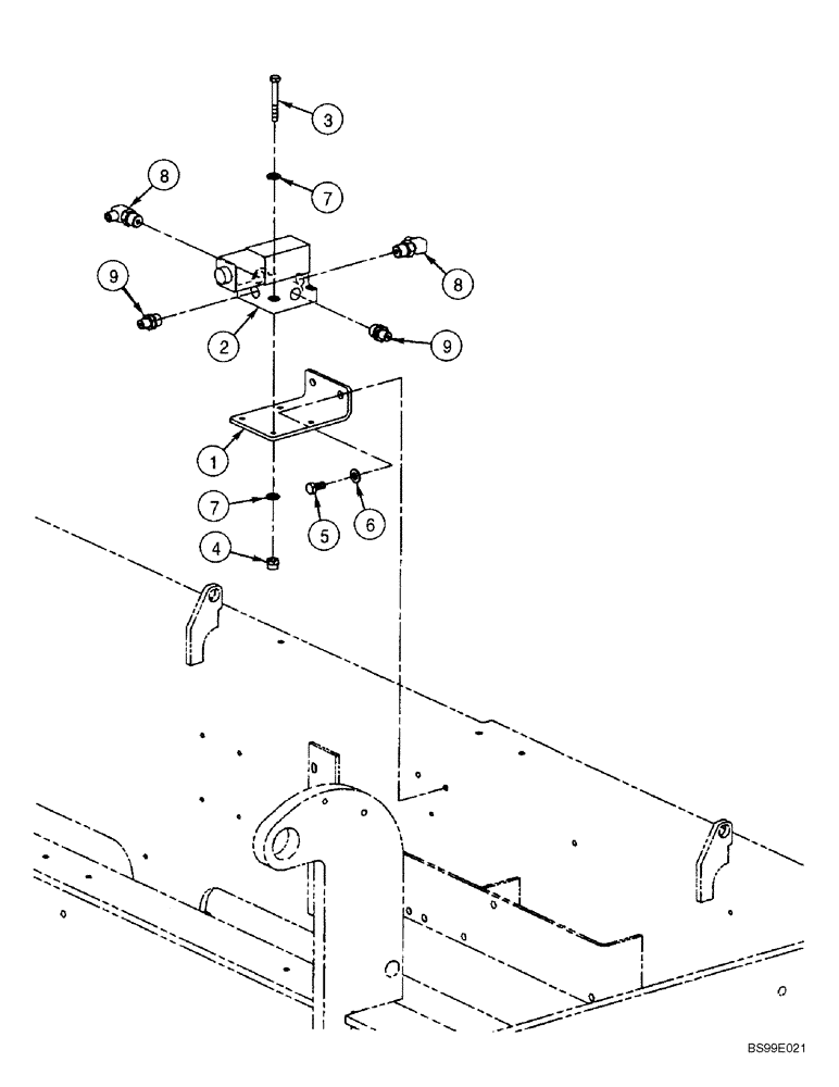
Запчасти Case 686G (8-30) - FRAME LEVEL LOCKOUT VALVE AND RELATED PARTS (SERIES 2 686GXR AND 688G) (08) - HYDRAULICS

Схема запчастей Case 686G - (8-30) - FRAME LEVEL LOCKOUT VALVE AND RELATED PARTS (SERIES 2 686GXR AND 688G) (08) - HYDRAULICS
9
9
4
6
8
1
2
3
5
8
7
7
FIT
1:1
100%

Артикул

Название

Примечание

Количество

1

366539A1

PLATE

1шт.

2

366541A1

VALVE

Frame Lockout

1шт.

See Figure 8-42

1шт.

3

614-5040

BOLT,Hex, M5 x 0.8 x 40mm, Cl 8.8, Full Thd

M5 x 40

4шт.

4

825-1405

NUT,M5, Cl 8

4шт.

5

614-10020

BOLT,Hex, M10 x 1.5 x 20mm, Cl 8.8, Full Thd

2шт.

7

895-11005

WASHER,5.5mm ID x 10mm OD x 1mm Thk

8шт.

8

366543A1

ADAPTER

2шт.

9

366544A1

ADAPTER

2шт.

6

895-11010

WASHER,11mm ID x 20mm OD x 2mm Thk

2шт.

Выбрано товаров: 10