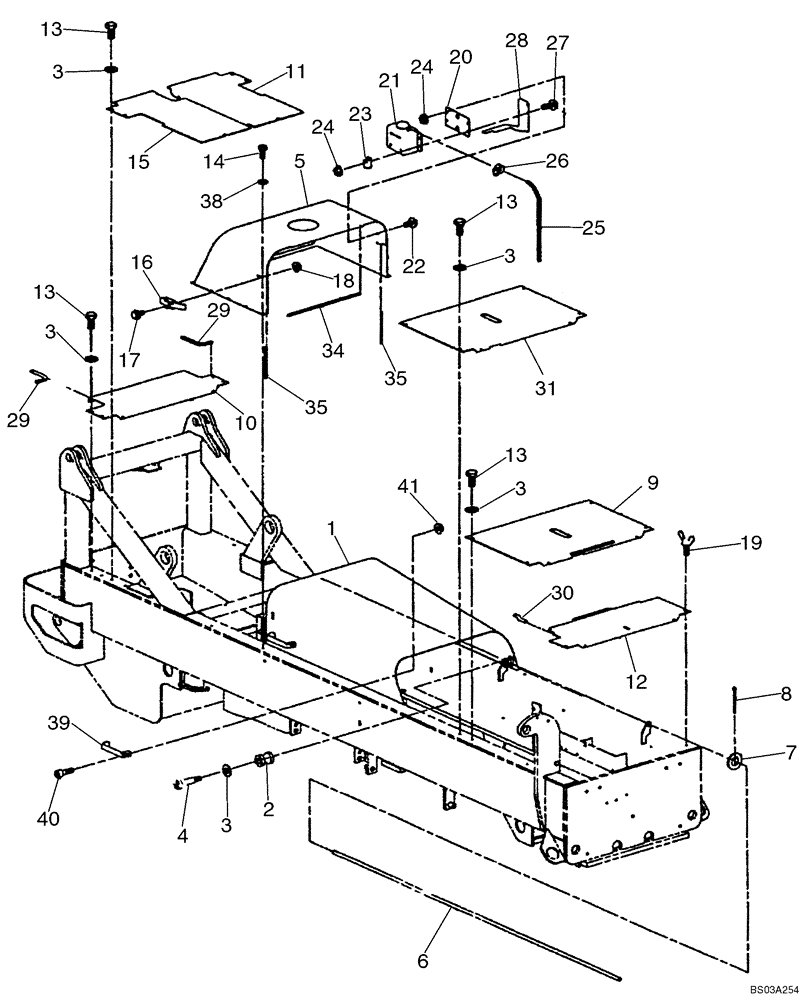
Запчасти Case 686G (9-03) - PLATES, COVERS AND RELATED PARTS (SERIES 2 686G BSN JFE0000706) (09) - CHASSIS/ATTACHMENTS

Схема запчастей Case 686G - (9-03) - PLATES, COVERS AND RELATED PARTS (SERIES 2 686G BSN JFE0000706) (09) - CHASSIS/ATTACHMENTS
8
13
5
10
3
17
14
24
15
9
11
34
21
16
27
13
22
4
29
24
3
40
25
3
35
35
3
13
13
18
38
28
1
7
30
6
29
26
41
23
2
19
12
3
31
39
20
FIT
1:1
100%

Артикул

Название

Примечание

Количество

1

366218A1

COVER

Front

1шт.

2

316275A1

ROLLER

8шт.

3

388284A1

WASHER

11 x 20 x 2 mm

26шт.

4

561-704

HEX SOC SCREW,M8 x 32.4, 10 x 30mm shldr, Cl 12.9

M8 x 30

8шт.

5

316291A1

REAR COVER

Rear

1шт.

6

325781A1

BAR

2шт.

7

495-11081

WASHER,3/4", SAE

4шт.

8

432-820

COTTER PIN,1/8" x 1 1/4"

4шт.

9

316258A1

PLATE

Front

1шт.

10

365107A1

PLATE

Rear Deck

1шт.

11

316278A1

PLATE

Left Rear Cover

1шт.

12

316292A1

PLATE

Battery Cover

1шт.

13

614-10016

BOLT,Hex, M10 x 1.5 x 16mm, Cl 8.8, Full Thd

16-18шт.

14

614-8016

BOLT,Hex, M8 x 1.25 x 16mm, Cl 8.8, Full Thd

10шт.

15

365108A1

PLATE

Right Rear Cover

1шт.

16

316293A1

LATCH

1шт.

17

905-6012

BOLT,Hex Flg, M6 x 12mm

M6 x 12

2шт.

18

825-5146

SERRATED NUT,M6, Flg Ser

2шт.

19

316296A1

SCREW

2шт.

20

316298A1

BRACKET

Water Bottle Mounting

1шт.

21

391500A1

RESERVOIR

Water

1шт.

If Used

1шт.

21

316303A1

RESERVOIR ASSY.

Water

1шт.

Incl. 21A - 21C

1шт.

If Used

1шт.

21a

316299A1

TANK

1шт.

Not Illustrated

1шт.

21b

316301A1

DECAL

Full Hot

1шт.

Not Illustrated

1шт.

21c

316302A1

DECAL

Full Cold

1шт.

Not Illustrated

1шт.

22

905-8016

BOLT,Hex Flg, M8 x 16mm

4шт.

23

316236A1

CLAMP

1шт.

24

825-5148

SERRATED NUT,M8, Flg Ser

6шт.

25

316300A1

HOSE

1шт.

26

309137A1

HOSE CLAMP

1шт.

27

905-8020

BOLT,Hex Flg, M8 x 20mm

M8 x 20

2шт.

28

325788A1

GUARD

1шт.

29

365110A1

ORNAMENTAL STRIP

Rear Deck Plate

2шт.

30

316203A1

ORNAMENTAL STRIP

Battery Cover Plate

1шт.

31

325782A1

PLATE

Front Deck

1шт.

34

365113A1

TAPE

1шт.

35

365115A1

TAPE

2шт.

36

365116A1

FENDER

1шт.

Not Illustrated

1шт.

38

388702A1

WASHER,8.4mm ID x 21mm OD x 4mm Thk

10шт.

39

365118A1

HANDLE

Plastic Pull

2шт.

40

365192A1

SCREW

4шт.

41

825-5148

SERRATED NUT,M8, Flg Ser

4шт.

42

388322A1

GROMMET

2шт.

Not Illustrated

1шт.

Выбрано товаров: 51