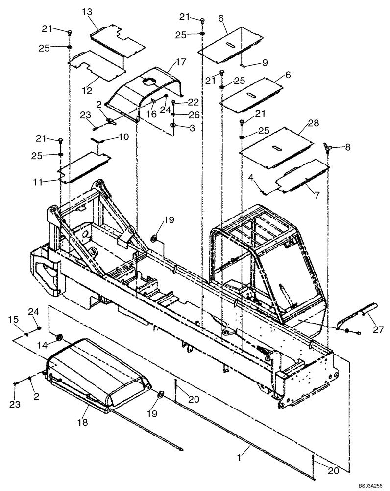
Запчасти Case 686G (9-05) - PLATE, COVERS & RELATED PARTS (SERIES 2 ASN 686G JFE0000705; 686GXR JFE0001847; 688G PIN JFE0003612) (09) - CHASSIS/ATTACHMENTS

Схема запчастей Case 686G - (9-05) - PLATE, COVERS & RELATED PARTS (SERIES 2 ASN 686G JFE0000705; 686GXR JFE0001847; 688G PIN JFE0003612) (09) - CHASSIS/ATTACHMENTS
24
2
15
14
28
26
17
10
25
21
21
22
9
19
20
23
25
6
11
2
25
27
19
7
25
3
21
23
1
18
16
21
13
20
8
25
4
6
21
24
12
FIT
1:1
100%

Артикул

Название

Примечание

Количество

1

87420639

BAR

Bar, Slide

2шт.

2

87420641

LATCH

Latch

1шт.

3

87420643

RUBBER WASHER

Washer, Rubber

6шт.

4

316203A1

ORNAMENTAL STRIP

Battery Cover Plate

1шт.

6

316258A1

PLATE

Front

2шт.

7

316292A1

PLATE

Battery Cover

1шт.

8

316296A1

SCREW

2шт.

9

388379A1

WEAR PAD

1шт.

10

87420644

SEAL

Trim, Bulk

2шт.

11

87420646

PLATE

Plate, Rear Deck

1шт.

12

87420647

COVER PLATE

Plate, Right Rear Cover

1шт.

13

87420648

COVER PLATE

Plate, Left Rear Cover

1шт.

14

388322A1

GROMMET

2шт.

15

87420650

PLATE

Plate, Backing Latch Keep

1шт.

16

87420651

PLATE

Plate, Latch Pad

1шт.

17

87420652

COVER

Cover, Rear, Fiberglass

1шт.

18

450006A1

COVER

Front

1шт.

See Figure 9-05A

1шт.

19

495-11081

WASHER,3/4", SAE

4шт.

20

432-820

COTTER PIN,1/8" x 1 1/4"

4шт.

21

614-10016

BOLT,Hex, M10 x 1.5 x 16mm, Cl 8.8, Full Thd

18-21шт.

22

614-8016

BOLT,Hex, M8 x 1.25 x 16mm, Cl 8.8, Full Thd

6шт.

23

614-6020

BOLT,Hex, M6 x 1 x 20mm, Cl 8.8, Full Thd

4шт.

24

832-10404

NUT,M4 x 0.7, Cl 8.8

M6

4шт.

26

895-11008

WASHER,9mm ID x 16mm OD x 1.6mm Thk

6шт.

27

365116A1

FENDER

1шт.

28

388387A1

PLATE

1шт.

Series 2 688G Only

1шт.

25

895-11010

WASHER,11mm ID x 20mm OD x 2mm Thk

18-21шт.

Выбрано товаров: 29