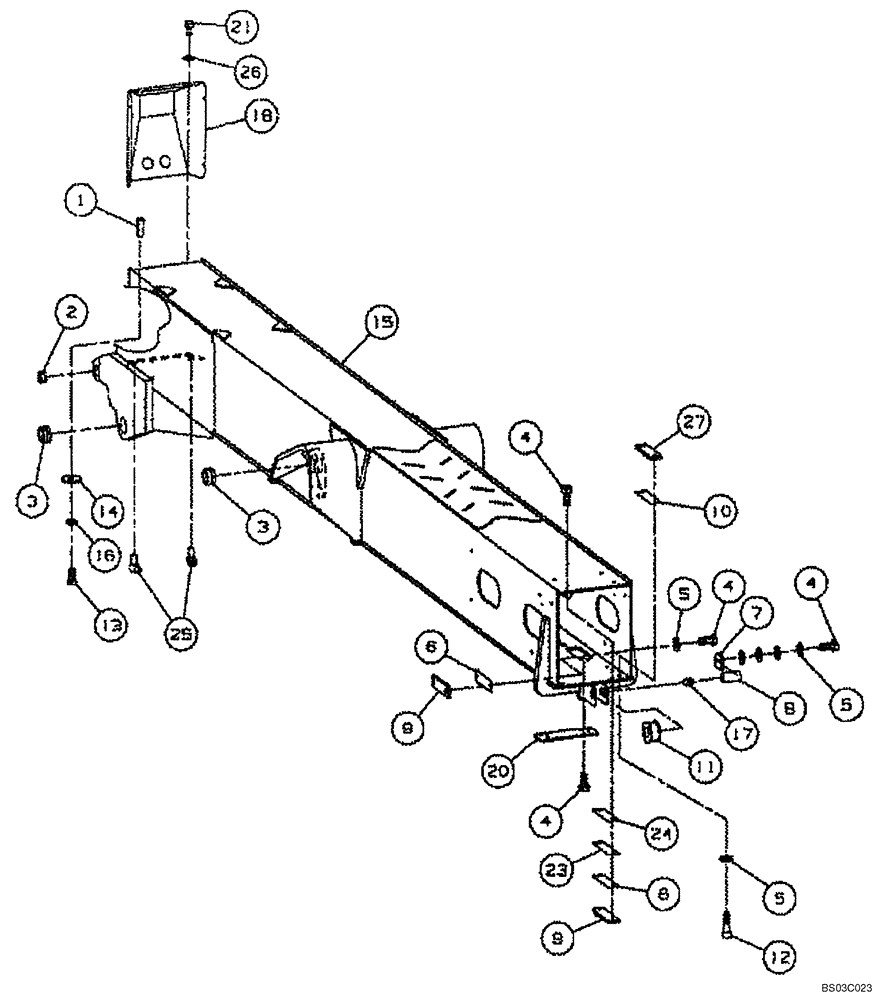
Запчасти Case 686G (9-32A) - OUTER BOOM SECT ASSY (ASN 686G JFE0000661; BTW 686GXR JFE0001701 - JFE0001848; BSN 688G JFE0003612) (09) - CHASSIS/ATTACHMENTS

Схема запчастей Case 686G - (9-32A) - OUTER BOOM SECT ASSY (ASN 686G JFE0000661; BTW 686GXR JFE0001701 - JFE0001848; BSN 688G JFE0003612) (09) - CHASSIS/ATTACHMENTS
7
27
8
13
9
18
12
2
3
25
26
5
15
6
4
5
3
23
21
8
24
14
10
16
4
1
11
20
4
17
4
5
9
FIT
1:1
100%

Артикул

Название

Примечание

Количество

1

314051A1

BLOCK

2шт.

2

316196A1

BUSHING

2шт.

3

316993A1

SPHERICAL BEARING

4шт.

4

614-10020

BOLT,Hex, M10 x 1.5 x 20mm, Cl 8.8, Full Thd

17шт.

5

430112A1

SPECIAL WASHER

11 x 20 x 2 mm

16шт.

6

317062A1

SHIM

6шт.

7

317072A1

PLATE

1шт.

8

367781A1

PIN

1шт.

9

430356A1

WEAR PAD

6шт.

10

430357A1

PLATE

2шт.

11

317067A1

SLEEVE

1шт.

12

864-10035

HEX SOC SCREW,M10 x 35mm, Cl 8.8

M10 x 35

4шт.

12

627-10025

BOLT,Hex, M10 x 1.5 x 25mm, Cl 10.9, Full Thd

4шт.

13

426-612

BOLT,Hex, 3/8" - 16 x 3/4", Gr 8

2шт.

14

316960A1

WASHER

2шт.

15

367783A1

BOOM

Section, Outer

1шт.

686G Series 2 (PIN JFE0000662 And After)

1шт.

15

366375A1

BOOM

Section, Outer

1шт.

686GXR Series 2 (PIN JFE0001701 - JFE0001847)

1шт.

15

366378A1

BOOM

Section, Outer

1шт.

688G Series 2 (Prior to PIN JFE0003613)

1шт.

16

492-11038

LOCK WASHER,3/8"

2шт.

17

219-1

LUBE NIPPLE,1/8" - 27 NPTF

1шт.

18

317153A1

PLATE

1шт.

20

430359A1

PLATE

1шт.

21

627-8020

BOLT,Hex, M8 x 1.25 x 20mm, Cl 10.9, Full Thd

8шт.

23

317393A1

PLATE

2шт.

24

317414A1

PLATE

5шт.

25

366376A1

ADAPTER

2шт.

26

430360A1

WASHER

6шт.

27

430113A1

WEAR PAD

2шт.

Выбрано товаров: 31