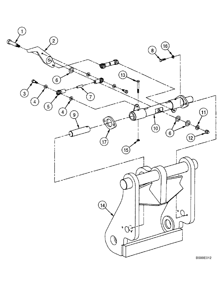
Запчасти Case 686G (9-42) - QUICK ATTACH APRON (ALL 686G MODELS; BSN 686GXR JFE0001848; 688G JFE0003613) (09) - CHASSIS/ATTACHMENTS

Схема запчастей Case 686G - (9-42) - QUICK ATTACH APRON (ALL 686G MODELS; BSN 686GXR JFE0001848; 688G JFE0003613) (09) - CHASSIS/ATTACHMENTS
4
16
17
13
15
12
9
1
3
5
14
10
11
6
7
4
2
8
6
FIT
1:1
100%

Артикул

Название

Примечание

Количество

317374A1

APRON

Quick Attach

1шт.

All Models Except 688G

1шт.

Incl. 1 - 17

1шт.

363868A1

APRON

Quick Attach

1шт.

688G Only

1шт.

Incl. 1 - 17

1шт.

1

561-705

HEX SOC SCREW,M12 x 82.4, 16 x 60mm shldr, Cl 12.9

M12 x 60

1шт.

2

317179A1

HANDLE

1шт.

3

561-703

HEX SOC SCREW,M8 x 32.4, 10 x 16mm shldr, Cl 12.9

4шт.

5

317091A1

END

Rod, Threaded

4шт.

6

317914A1

WASHER

3шт.

7

363886A1

ROD

Threaded

2шт.

8

614-8030

BOLT,Hex, M8 x 1.25 x 30mm, Cl 8.8, Full Thd

4шт.

9

317090A1

PIN

2шт.

10

317089A1

HANDLE

1шт.

All Models Except 688G

1шт.

10

363888A1

HANDLE

1шт.

688G Only

1шт.

11

896-11012

WASHER,13.5mm ID x 24mm OD x 3mm Thk

1шт.

12

829-1412

NUT,M12, Cl 10.9

1шт.

13

614-8065

BOLT,Hex, M8 x 1.25 x 65mm, Cl 8.8, Full Thd

M8 x 65

2шт.

14

317404A1

APRON

Quick Attach

1шт.

All Models Except 688G

1шт.

14

363889A1

APRON

Quick Attach

1шт.

688G Only

1шт.

15

829-1408

NUT,Hex, M8 x 1.25, Cl 10.9

2шт.

16

896-11008

WASHER,9mm ID x 17mm OD x 2mm Thk

4шт.

Not Illustrated

1шт.

17

365321A1

SHIM

1шт.

If Used

1шт.

4

895-11010

WASHER,11mm ID x 20mm OD x 2mm Thk

8шт.

Выбрано товаров: 31