Запчасти Case 686G (2-52) - CYLINDER BLOCK, 4-390 EMISSIONS CERTIFIED ENGINE (02) - ENGINE

Схема запчастей Case 686G - (2-52) - CYLINDER BLOCK, 4-390 EMISSIONS CERTIFIED ENGINE (02) - ENGINE
30a
33
13
28
40
29
34
10
21
35
36
18
5
27a
6
41
1
26
39
42
13a
12a
19a
25
24
6
9
32
31
38
17
11
6
7
16a
7
20
14
23
8
7
27
15
22
3
2
12
19
30
16
4
FIT
1:1
100%

Артикул

Название

Примечание

Количество

327008A2

ENGINE

Complete

1шт.

*

Replaces 311202A1, 327008A1

1шт.

*

For Service Order 302562A1 Basic Engine, Below

1шт.

326995A2

ENGINE ASSY Complete

1шт.

*

For Service, Order 377987A1

1шт.

302562A1

BASIC ENGINE

1шт.

*

Includes All Parts Except Starter, Alternator, Fan, Fan Belt, Air Cleaner, Muffler, Exhaust Manifold, Flywheel and Housting, Oil Fill and Dipstick, Fuel Injection Pump, Injectors and Lines, Front Pulley and Belt Tensioner

1шт.

*

Used to Service 327008A2 Complete Engine

1шт.

377987A1R

REMAN-BASIC ENGINE,4 Cylinders

Remanufactured Basic Engine Assembly, assembly includes short block assembly, cylinder head, valve cover, front cover, oil pan, water pump, thermostat and gasket kit to transfer trim parts

1шт.

377987A1C

CORE-BASIC ENGINE,4 Cylinders

Return Part Number

1шт.

377987A1

BASIC ENGINE,4 Cylinders

1шт.

47465946R

REMAN-BASIC ENGINE

Reman for New PN 377987A1

1шт.

47465946C

CORE-BASIC ENGINE

Return Part Number

1шт.

J933649

SHORT ENGINE

Includes Stripped Block, Pistons, Connecting Rods and Bearing, Crankshaft and Bearings

1шт.

J933649R

SHORT ENGINE

Reman for New PN J933649

1шт.

J933649C

CORE-SHORT ENGINE

Return Part Number

1шт.

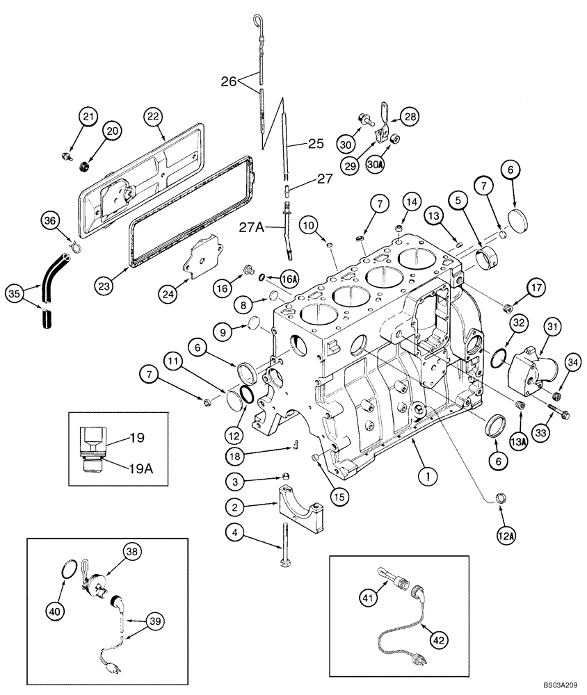
1

87444172

BLOCK ASSY.

1шт.

*

Stripped

1шт.

*

Incl. 2 - 8

1шт.

2

J936791

BEARING CAP

5шт.

*

Incl. 3

1шт.

*

Replaces J903492

1шт.

3

J900068

BEARING WASHER

2шт.

4

J927948

BOLT,Flng, MJ12 x 1.5H6H x 119mm, Cl 12.9

10шт.

5

REF

INSTRUCTION

Bushing

1шт.

*

See Figure 2-48

1шт.

6

A77782

PLUG

58 mm OD

3шт.

7

J900956

PLUG

18 mm OD

3шт.

8

41-1616

PLUG,Cup, 1", Stainless

2шт.

J933220

PACKAGE,SERVICE

1шт.

*

Incl. 9 - 18

1шт.

9

J900958

PLUG

32 mm OD

1шт.

10

J900955

PLUG

10 mm OD

3шт.

11

41-3038

PLUG,Exp, 2 3/8"

1шт.

12

J926047

O-RING,0.07" Thk x 2.239" ID

57 mm ID

1шт.

12a

J920706

PLUG

22 mm OD

3шт.

13

J900257

PIN,10.01mm OD x 16mm L

16 mm long, locating

2шт.

13a

263136

MAGNETIC PLUG,Sq. Soc, 3/4"-14 NPTF

PLUG, MAGNETIC

1шт.

*

Replaces A77505

1шт.

14

J902343

DOWEL

16 mm OD

2шт.

15

J900068

BEARING WASHER

18 mm OD

2шт.

16

J678923

PLUG,M10 x 1

10 mm

3шт.

*

Incl. 16A

1шт.

16a

637-72081

O-RING,1.6mm Thk x 8.1mm ID, Cl 7, 75 Duro

1шт.

17

217-438

PLUG,Hex Soc, 1/2" - 14 NPTF

1шт.

17a

J678921

PLUG

14 mm

1шт.

*

Incl. 17B

1шт.

*

Not Illustrated

1шт.

*

Not Used In This Application

1шт.

17b

637-63113

O-RING,2.2mm Thk x 11.3mm ID, Cl 6

1шт.

*

Not Illustrated

1шт.

17c

J932296

PLUG

1шт.

*

Incl. 17D

1шт.

*

Not Illustrated

1шт.

*

Not Used In This Application

1шт.

17d

J330478

O-RING,0.07" Thk x 0.676" ID

1шт.

*

Not Illustrated

1шт.

18

J937214

NOZZLE CAP

6шт.

19

250838A2

HYD CONNECTOR

1шт.

*

Incl. 19A

1шт.

19a

637-72081

O-RING,1.6mm Thk x 8.1mm ID, Cl 7, 75 Duro

1шт.

20

J928759

SEALING WASHER

4шт.

21

845-8016

BOLT,Hvy Hex, M8 x 16mm, Cl 8.8

2шт.

22

J936186

COVER

1шт.

*

Incl. 24

1шт.

*

Replaces J925680

1шт.

23

J283767

GASKET,7.4mm Thk

1шт.

24

J907586

BAFFLE

1шт.

25

J285702

TUBE,9.7 mm ID x 12.7 mm OD

1шт.

*

Replaces J279238

1шт.

26

J907709

DIPSTICK

1шт.

27

J905802

FITTING,9.53 mm OD x 39 mm L

1шт.

27a

J935440

TUBE,9.52 mm OD x 92.21 mm L

1шт.

28

J905804

BRACKET

1шт.

29

214-1308

HOSE CLAMP,#8, 1/2", Spring

1шт.

30

845-8016

BOLT,Hvy Hex, M8 x 16mm, Cl 8.8

1шт.

30a

825-1408

NUT,M8, Cl 8

1шт.

31

J934878

MANIFOLD

Water Inlet

1шт.

32

J906697

SEAL,Square, 5.16mm Thk x 50.17mm ID

1шт.

33

854-10075

BOLT,Hvy Hex, M10 x 75mm, Cl 10.9

3шт.

34

217-438

PLUG,Hex Soc, 1/2" - 14 NPTF

2шт.

*

Replaces A77429

1шт.

35

J918612

TUBE,360.00 mm

Breather

1шт.

36

J904230

CLAMP,25.4mm

1шт.

37

J900955

PLUG

10 mm OD, Alternate Dipstick Hole

1шт.

*

Not Illustrated

1шт.

*

ENGINE BLOCK HEATER

1шт.

196803A1

KIT

Engine Block Heater

1шт.

*

Incl. 38 - 40

1шт.

38

NSS

NOT SOLD SEPARAT

Element, 120 V

1шт.

39

196466A1

ELECTRIC CABLE

1шт.

40

J910517

O-RING

1шт.

*

309651A1

KIT

Engine Block Heater

1шт.

*

Incl. 41, 42

1шт.

41

NSS

NOT SOLD SEPARAT

Element, 120 V

1шт.

42

196466A1

ELECTRIC CABLE

1шт.

*

ENGINE OVERHAUL KIT

1шт.

*

A77893

PACKAGE, REPAIR

Engine Overhaul

1шт.

*

Incl. 43 - 50

1шт.

*

Not Illustrated

1шт.

43

J804980

PISTON & RINGS KIT

4шт.

*

See Figure 2-66

1шт.

44

J919053

PISTON PIN

4шт.

*

See Figure 2-66

1шт.

45

A77894

BEARING SET,69mm ID x 73.53mm OD x 31mm W

4шт.

*

See Figure 2-68

1шт.

46

J804940

BEARING SET

4шт.

*

See Figure 2-60

1шт.

47

A77895

THRUST BEARING,KIT

1шт.

*

See Figure 2-60

1шт.

48

A77914

SEAL PACKAGE

1шт.

*

See Figure 2-72

1шт.

49

J283333

CYLINDER HEAD GASKET,2.32mm Thk

1шт.

*

See Figure 2-42

1шт.

50

A77673

GASKET KIT

1шт.

*

See Figure 2-38

1шт.

Выбрано товаров: 116