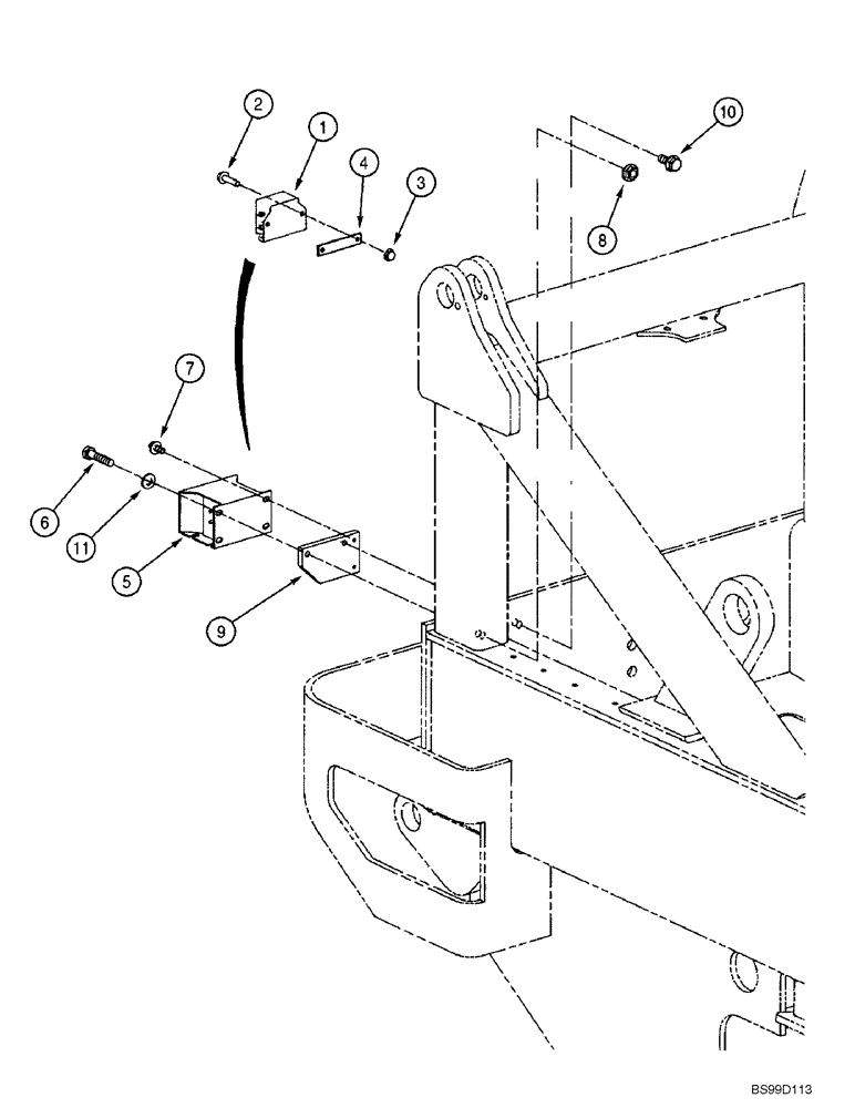
Запчасти Case 686G (4-14) - BACKUP ALARM, ALARM AND PLATE HAS TWO MOUNTING HOLES, ALARM (04) - ELECTRICAL SYSTEMS

Схема запчастей Case 686G - (4-14) - BACKUP ALARM, ALARM AND PLATE HAS TWO MOUNTING HOLES, ALARM (04) - ELECTRICAL SYSTEMS
3
1
7
11
6
4
5
2
9
10
8
FIT
1:1
100%

Артикул

Название

Примечание

Количество

ALARM AND PLATE HAS TWO MOUNTING HOLES

1шт.

1

325776A1

ALARM

Backup

1шт.

No longer supplied

1шт.

Order REF 5 - 11 below

1шт.

2

905-6025

BOLT,Hex Flg, M6 x 25mm

M6 x 35

2шт.

3

318497A1

NUT

2шт.

4

325778A1

PLATE

Two Holes

1шт.

ALARM AND PLATE HAS FOUR MOUNTING HOLES

1шт.

5

357350A1

ALARM

Backup

1шт.

6

814-8045

BOLT,Hex, M8 x 1.25 x 45mm, Cl 8.8

1шт.

7

905-6012

BOLT,Hex Flg, M6 x 12mm

M6 x 12

2шт.

8

825-5148

SERRATED NUT,M8, Flg Ser

1шт.

9

357351A1

PLATE

Four Holes

1шт.

10

905-8020

BOLT,Hex Flg, M8 x 20mm

M8 x 20

1шт.

11

895-11008

WASHER,9mm ID x 16mm OD x 1.6mm Thk

1шт.

Выбрано товаров: 15