Запчасти Case 686G (9-56) - DECALS, LEFT-HAND SIDE AND LOAD CHARTS (BSN 686G JFE0000662; 686GXR JFE0001702) (09) - CHASSIS/ATTACHMENTS

Схема запчастей Case 686G - (9-56) - DECALS, LEFT-HAND SIDE AND LOAD CHARTS (BSN 686G JFE0000662; 686GXR JFE0001702) (09) - CHASSIS/ATTACHMENTS
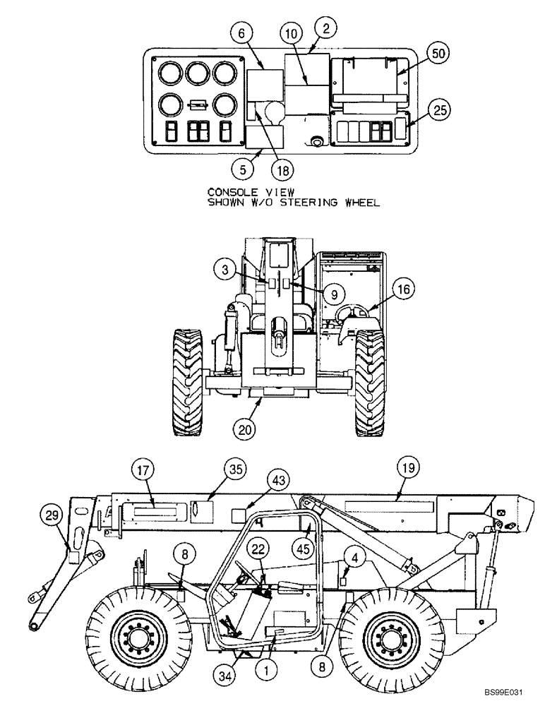
2
34
19
5
16
1
50
25
45
29
3
18
10
20
4
35
8
8
43
6
17
22
9
FIT
1:1
100%

Артикул

Название

Примечание

Количество

1

339624A1

DECAL

OSHA

1шт.

2

317365A1

DECAL

Warning, Rollover

1шт.

3

309579A1

DECAL

Falling Object

1шт.

4

317371A1

DECAL

Warning, Rotating Fan and Belts

1шт.

5

317705A1

DECAL

No Riders

1шт.

6

317368A1

DECAL

Operation, Maintenance and Safety Warning

1шт.

8

309577A1

DECAL

Crush Warning

2шт.

9

309580A1

DECAL

Falling Off

1шт.

10

317364A1

DECAL

Warning, Electrical Hazard

1шт.

16

317023A1

DECAL

Emergency Exit

1шт.

17

323203A1

DECAL

Model Identification

1шт.

For 686G

1шт.

17

318181A1

DECAL

Model Identification

1шт.

FOR 686GXR

1шт.

18

317363A1

DECAL

Forward - Neutral - Reverse

1шт.

19

318191A1

DECAL

CASE, Left Hand

1шт.

20

318182A1

DECAL

Model Identification, Rear

1шт.

22

310360A1

DECAL

Frame Level

1шт.

25

317361A1

DECAL

Steering Mode

1шт.

29

309280A1

DECAL

Carriage Shift

1шт.

34

317423A1

DECAL

Tread, Non-slip

1шт.

35

317150A1

DECAL

Angle

1шт.

43

323204A1

DECAL

Striping

1шт.

For 686G

1шт.

43

318183A1

DECAL

Striping, Left Hand

1шт.

For 686GXR

1шт.

45

318185A1

DECAL

Striping, Left Hand

1шт.

LOAD CHARTS FOR 686G

1шт.

50

357951A1

DECAL

Load Chart, Quick Attach Carriage, 1219, 1524, 1829 mm (48, 60, 72 in) wide

1шт.

Replaces 346968A1

1шт.

50

357952A1

DECAL

Load Chart, Quick Attach Carriage, Fork Positioning

1шт.

Replaces 346969A1

1шт.

50

357953A1

DECAL

Load Chart, Quick Attach Carriage, Fork Tilt

1шт.

Replaces 346972A1

1шт.

50

357954A1

DECAL

Load Chart, Bucket, 3/4 cu meter (1 cu yd)

1шт.

Replaces 346973A1

1шт.

50

357955A1

DECAL

Load Chart, Truss Boom

1шт.

Replaces 346974A1

1шт.

LOAD CHARTS FOR 686GXR

1шт.

50

368961A1

DECAL

Load Chart, Quick Attach Carriage, 1219,1524,1829 mm (48,60,72 in) wide

1шт.

Replaces 3272635A1

1шт.

50

357959A1

DECAL

Load Chart, Quick Attach Carriage, Fork positioning

1шт.

Replaces 327636A1

1шт.

50

357691A1

ARM

Load Chart, Quick Attach Carriage, Fork Tilt

1шт.

Replaces 327637A1

1шт.

50

357962A1

DECAL

Load Chart, Bucket, 3/4 cu meter (1 cu yd)

1шт.

Replaces 327638A1

1шт.

50

357960A1

DECAL

Load Chart, Truss Boom

1шт.

Replaces 327639A1

1шт.

Выбрано товаров: 0