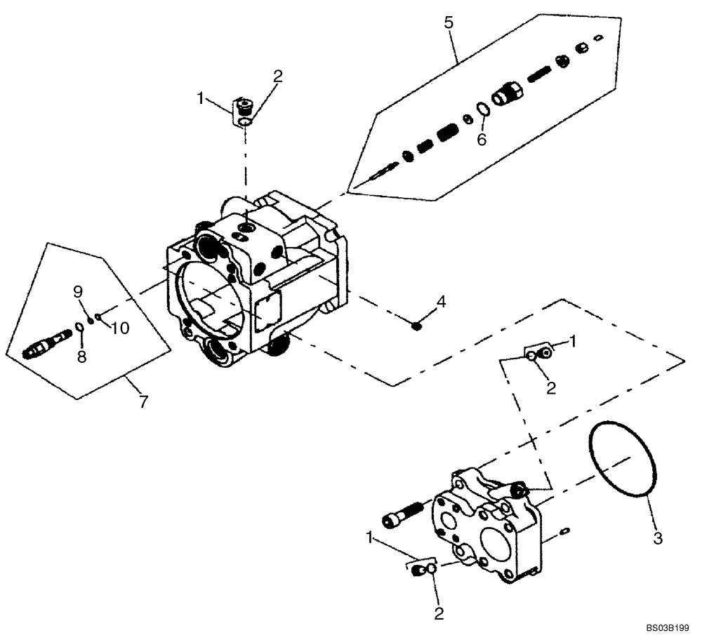
Запчасти Case 688G (8-46C) - 87418215 PUMP ASSY (ASN 686GXR JFE0001847; 688G JFE0003612) (08) - HYDRAULICS

Схема запчастей Case 688G - (8-46C) - 87418215 PUMP ASSY (ASN 686GXR JFE0001847; 688G JFE0003612) (08) - HYDRAULICS
10
9
2
6
7
2
4
3
8
5
1
1
2
1
FIT
1:1
100%

Артикул

Название

Примечание

Количество

87418215

HYDRAULIC PUMP

Hydraulic Pump

1шт.

Incl. 1 - 10

1шт.

Also Includes Parts On Figure 8-46B

1шт.

1

87421758

PLUG

Plug

3шт.

Incl. 8

1шт.

2

316963A1

O-RING

1шт.

3

87421764

O-RING

O-ring

1шт.

4

317821A1

ORIFICE

1шт.

5

87421765

REPAIR KIT

Kit, Control

1шт.

Incl. 6

1шт.

6

318036A1

O-RING

1шт.

7

87421766

REPAIR KIT

Kit, PC Valve

1шт.

Incl. 8 - 10

1шт.

8

318042A1

O-RING

1шт.

9

317820A1

BACK-UP RING

1шт.

10

317003A1

O-RING

1шт.

Выбрано товаров: 16