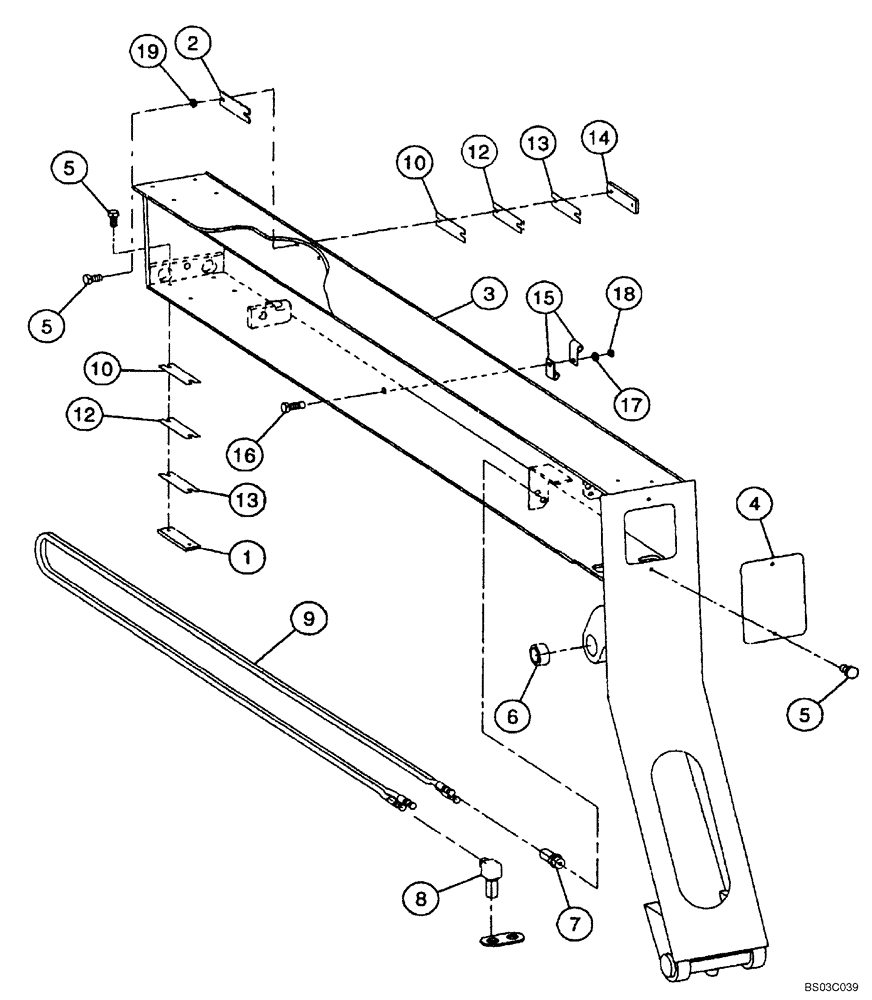
Запчасти Case 688G (9-36A) - INNER BOOM SECTION ASSEMBLY (ASN 686GXR JFE0001847; 688G JFE0003612) (09) - CHASSIS/ATTACHMENTS

Схема запчастей Case 688G - (9-36A) - INNER BOOM SECTION ASSEMBLY (ASN 686GXR JFE0001847; 688G JFE0003612) (09) - CHASSIS/ATTACHMENTS
12
4
13
8
2
16
3
1
7
9
5
5
12
10
18
5
19
6
13
15
17
14
10
FIT
1:1
100%

Артикул

Название

Примечание

Количество

1

430356A1

WEAR PAD

4шт.

2

317148A1

PLATE, SPACER

PLATE,SPACER

2шт.

3

87417706

BOOM EXTENSION

Boom, Section, Inner

1шт.

686GXR

1шт.

3

87417707

BOOM

Boom, Section, Inner

1шт.

688G

1шт.

4

317081A1

PLATE

Access

1шт.

5

614-10020

BOLT,Hex, M10 x 1.5 x 20mm, Cl 8.8, Full Thd

14шт.

6

316993A1

SPHERICAL BEARING

1шт.

7

87417713

FITTING

Fitting

2шт.

8

87417714

ADAPTER

Adapter

2шт.

9

87417031

HOSE

2шт.

10

317062A1

SHIM

2шт.

12

317393A1

PLATE

2шт.

13

317414A1

PLATE

5шт.

14

363783A1

PAD

Wear

2шт.

15

318485A1

CLAMP

2шт.

16

614-10030

BOLT,Hex, M10 x 1.5 x 30mm, Cl 8.8, Full Thd

1шт.

17

310089A1

WASHER

1шт.

18

832-10410

NUT,M10 x 1.5, Cl 8

1шт.

19

430112A1

SPECIAL WASHER

4шт.

Выбрано товаров: 21