Запчасти Case 689G (08-28) - AUXILIARY HYDRAULICS (08) - HYDRAULICS

Схема запчастей Case 689G - (08-28) - AUXILIARY HYDRAULICS (08) - HYDRAULICS
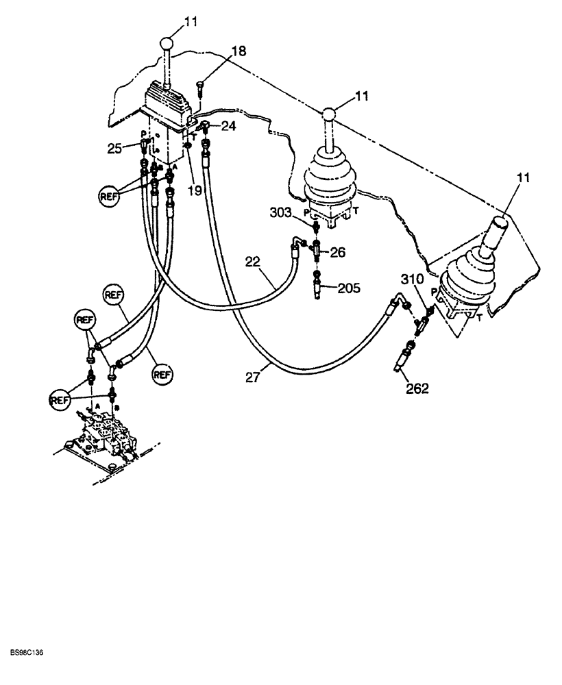
11
19
262
310
27
18
25
303
24
205
26
11
22
11
FIT
1:1
100%

Артикул

Название

Примечание

Количество

11

REF

INSTRUCTION

CONTROL VALVE single lever, see Figure 8-44

3шт.

18

309935A1

BOLT

hex, self-locking, 1/4 NC x 3/4 inch

8шт.

19

309941A1

LOCK NUT

hex, 1/4 inch NC valve section

8шт.

22

309340A1

HOSE

linear control valve to joystick control valve

1шт.

23

309988A1

TEE

hydraulic, not shown

1шт.

24

309960A1

ADAPTER

ELBOW, 90°

1шт.

25

309961A1

ADAPTER

ELBOW, 90°

1шт.

26

309984A1

ADAPTER

TEE hydraulic

1шт.

27

309229A1

HOSE

660 mm (26 inch) long

1шт.

205

309531A1

HOSE

at joystick control valve

4шт.

262

309276A1

HOSE

1727 mm (68 inch) long

1шт.

303

309970A1

ADAPTER

straight

1шт.

310

309979A1

ADAPTER

straight

1шт.

Выбрано товаров: 13