Запчасти Case 689G (08-50) - MAIN CONTROL VALVE, MANIFOLD SECTION (08) - HYDRAULICS

Схема запчастей Case 689G - (08-50) - MAIN CONTROL VALVE, MANIFOLD SECTION (08) - HYDRAULICS
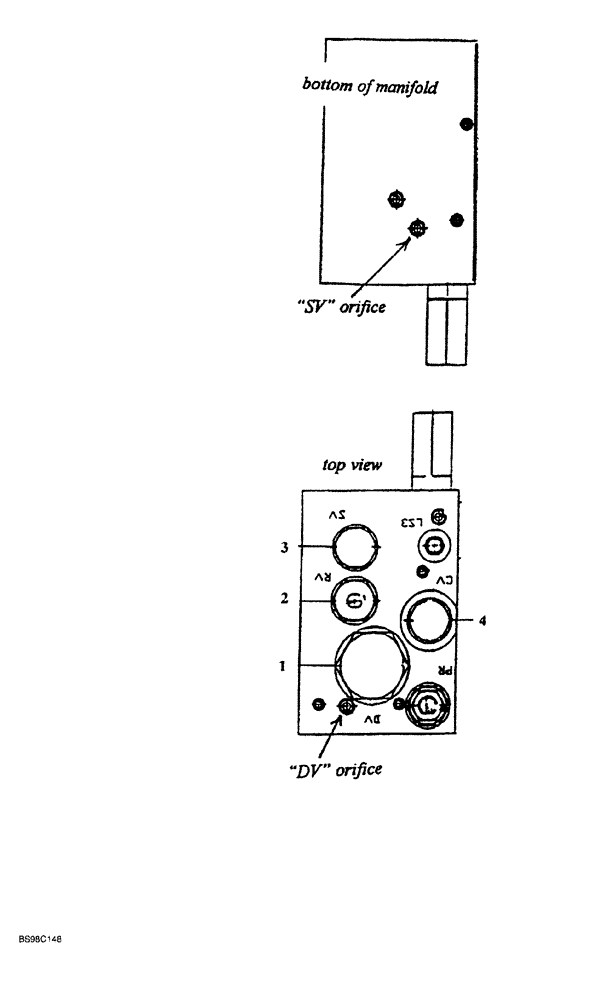
3
2
4
1
FIT
1:1
100%

Артикул

Название

Примечание

Количество

309593A1

MANIFOLD

SECTION ASSEMBLY, Includes: Ref. 1 - 7

1шт.

1

309587A1

PILOT VALVE

ASSEMBLY

1шт.

314778A1

SEAL KIT

seal, pilot valve

1шт.

2

314780A1

VALVE

ASSEMBLY relief

1шт.

313415A1

VALVE, PRESSURE RELI

EF KIT seal

1шт.

3

314779A1

VALVE

ASSEMBLY shuttle

2шт.

313416A1

SHUT-OFF VALVE

KIT seal, shuttle

1шт.

4

314775A1

VALVE, CHECK

ASSEMBLY

1шт.

313417A1

VALVE, CHECK

KIT seal

1шт.

5

314776A1

CHASSIS

VALVE ASSEMBLY pressure reducing, not shown

1шт.

313418A1

VALVE

KIT seal, pressure reducing

1шт.

6

314777A1

VALVE

ASSEMBLY 4-way, not shown

1шт.

313419A1

VALVE

KIT seal, 4 way

1шт.

7

309834A1

ORIFICE

manifold section, not shown

1шт.

Выбрано товаров: 14