Запчасти Case 689G (06-20) - FRONT AND REAR AXLE, HOUSING, SHAFTS AND TIE RODS (09) - CHASSIS

Схема запчастей Case 689G - (06-20) - FRONT AND REAR AXLE, HOUSING, SHAFTS AND TIE RODS (09) - CHASSIS
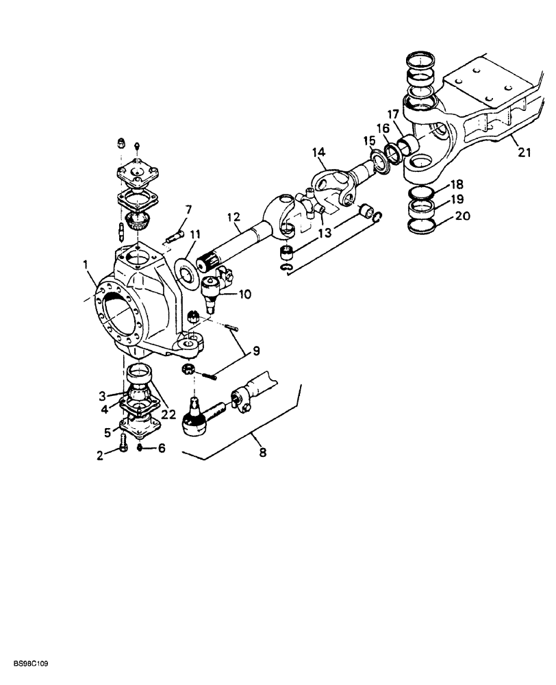
3
12
15
14
7
18
13
11
21
1
22
16
5
9
4
8
19
17
20
2
6
10
FIT
1:1
100%

Артикул

Название

Примечание

Количество

309881A1

CENTER AXLE

ASSEMBLY drive, parts lists Figures 6-16 thru 6-26, Includes: Ref. 1 - 21

2шт.

1

316849A1

HOUSING

swivel, left-hand front, right-hand rear

1шт.

1

316850A1

HOUSING

swivel, right-hand front, left-hand rear

1шт.

2

316851A1

BOLT

hex head

8шт.

3

313702A1

ROLLER BEARING

CONE tapered roller bearing

2шт.

4

313700A1

SHIM

kingpin, .005 inch

1шт.

4

313756A1

SHIM

kingpin, 0.010 inch

1шт.

5

313703A1

CAP

KINGPIN swivel housing

2шт.

6

316852A1

FITTING

grease

2шт.

7

316853A1

STUD

swivel, Serial Range: housing-spindle

12шт.

8

313691A1

TIE-ROD

TIE ROD

1шт.

9

316790A1

PIN

cotter

6шт.

10

313688A1

SOCKET/RECEPTACLE

JOINT tie rod end

1шт.

10

313685A1

SOCKET

JOINT tie rod end, left-hand front, right-hand rear

1шт.

10

313687A1

SOCKET

JOINT tie rod end, right hand front, left-hand rear

1шт.

11

313690A1

DEFLECTOR

SEAL dust

1шт.

12

316854A1

SHAFT

half, swivel housing end

1шт.

13

316855A1

YOKE

UNIVERSAL JOINT YOKE

1шт.

14

316856A1

SHAFT

half, differential end

1шт.

15

313689A1

DEFLECTOR

SEAL dust

1шт.

16

313584A1

OIL SEAL

1шт.

17

313758A1

BUSHING

housing end

1шт.

18

313698A1

RETAINER

grease

2шт.

19

313701A1

BEARING CUP

CUP

2шт.

20

313759A1

SEAL

kingpin

2шт.

21

316857A1

HOUSING

axle

1шт.

Выбрано товаров: 26