Запчасти Case 689G (09-12) - CAB AND COMPONENTS (09) - CHASSIS

Схема запчастей Case 689G - (09-12) - CAB AND COMPONENTS (09) - CHASSIS
6
8
42
26
35
34
22
44
20
5
31
50
25
14
45
23
7
43
9
38
51
39
15
1
30
46
49
27
12
28
11
33
36
13
40
39
10
48
32
41
46
24
29
37
21
47
FIT
1:1
100%

Артикул

Название

Примечание

Количество

309349A1

CAB

ASSEMBLY operations, Includes: Ref. 1 - 51

1шт.

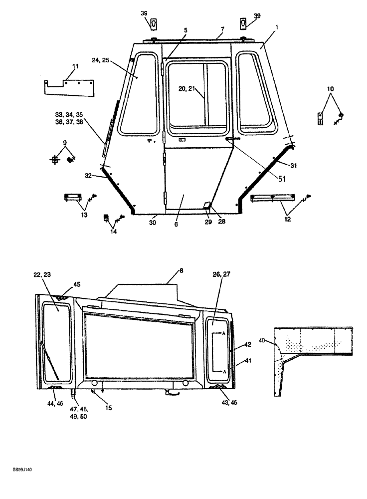
1

309605A1

CAB

FRAME cab

1шт.

5

309606A1

DOOR

cab, upper

1шт.

6

309607A1

DOOR

cab, lower

1шт.

7

309525A1

WINDOW

cab top

1шт.

8

309608A1

COVER

control

1шт.

9

309830A1

MOUNTING PARTS

BRACKET, cab, front

2шт.

10

309609A1

MOUNTING PARTS

BRACKET, cab, rear

2шт.

11

309610A1

MOUNTING PARTS

BRACKET, cab, right-hand side, four hole

1шт.

12

309611A1

MOUNTING PARTS

BRACKET, cab, left hand side three hole

2шт.

13

309612A1

MOUNTING PARTS

BRACKET, cab, left hand side, two hole

1шт.

14

309613A1

MOUNTING PARTS

BRACKET, cab, left hand side, one hole

1шт.

15

309614A1

CATCH

door

1шт.

20

309615A1

WINDOW

sliding, right-hand side

1шт.

21

309616A1

SEAL, GLASS

window, 3225 mm (127 inch) long, sliding

1шт.

22

309617A1

WINDOW

front

1шт.

23

309618A1

SEAL, GLASS

window, 3404 mm ( 134 inch) long, front

1шт.

24

309619A1

GLASS

side, cab

3шт.

25

309620A1

SEAL, GLASS

window, 2134 mm (84 inch) long, side

3шт.

26

309621A1

GLASS

rear, cab

1шт.

27

309622A1

SEAL, GLASS

window, 2718 mm (107 inch) long, rear cab

1шт.

28

309623A1

DOOR SEAL

4089 mm (161 inch) long

1шт.

29

309624A1

DOOR SEAL

432 mm (17 inch) long

1шт.

30

309817A1

SEAL

cab, 1016 mm (17 inch) long base

1шт.

31

309818A1

SEAL

cab, 2032 mm (80 inch) long, rear

1шт.

32

309819A1

SEAL

cab, 2286 mm (90 inch) long, front

1шт.

33

309419A1

WIPER MOTOR

MOTOR, WIPER front

1шт.

34

309820A1

WIPER BLADE

BLADE, WIPER 457 mm (18 inch) long

1шт.

35

309821A1

WIPER ARM

ARM, WIPER 406 mm (16 inch) long

1шт.

36

315069A1

SCREW

machine, No. 10 NC x 1 inch

1шт.

37

309581A1

WASHER

flat

1шт.

38

315070A1

LOCK NUT

hex self-locking, No. 10 NC

1шт.

39

309822A1

HOOK

lift

2шт.

40

362694A1

BRACKET

brake assembly

1шт.

41

353-421

PLUG,Dome, .187" hole, Nylon

1шт.

42

353-406

PLUG,Dome, .625" hole, Nylon

button, 5/8 inch

1шт.

43

309823A1

INSULATOR

cab, left-hand rear

1шт.

44

309824A1

INSULATOR

cab, left-hand front

1шт.

45

309825A1

INSULATOR

cab, right-hand front

1шт.

46

362697A1

ADHESIVE

cab

1шт.

47

309826A1

STOP

door, rubber

1шт.

48

309827A1

STOP

door, recessed

1шт.

49

309828A1

NUT

hex, No. 10 NC

1шт.

50

309829A1

SCREW

machine, No. 10 NCx 1-1/4 inch

1шт.

51

358221A1

KEY

cab door

1шт.

52

310293A1

FLOOR MAT

cab, not shown

1шт.

Выбрано товаров: 46