Запчасти Case 689G (09-30) - STABILIZER FRAME AND RELATED PARTS (09) - CHASSIS

Схема запчастей Case 689G - (09-30) - STABILIZER FRAME AND RELATED PARTS (09) - CHASSIS
18
4
5
5
18
20
16
13
1
11
17
12
7
14
9
4
16
10
19
8
2
1
3
2
12
11
17
15
6
1
FIT
1:1
100%

Артикул

Название

Примечание

Количество

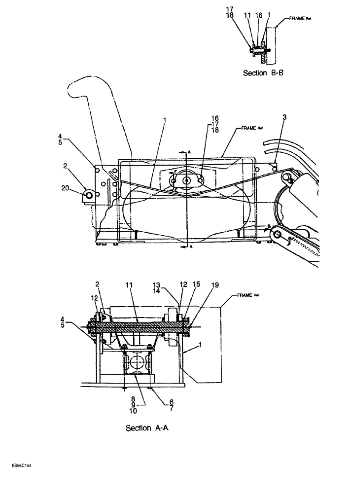
1

310269A1

FRAME

stabilizer

1шт.

2

310418A1

CLAMP

pivot axle

1шт.

3

310419A1

BRACKET

cylinder anchor

1шт.

4

426-836

BOLT,Hex, 1/2" - 13 x 2-1/4", Gr 8

12шт.

5

310017A1

LOCK NUT

hex, 1/2 inch NC

12шт.

6

310277A1

BOLT

hex 3/4 NC x 11-1/2 inch

12шт.

7

232-46112

LOCK NUT,3/4"-16, GC

12шт.

8

310352A1

SHIM

frame mounting

1шт.

9

310355A1

SHIM

frame mounting

1шт.

10

310356A1

SHIM

frame mounting

1шт.

11

310417A1

SHAFT

pivot, axle

1шт.

12

310249A1

THRUST WASHER

2шт.

13

310354A1

SHIM

pivot pin mounting

20шт.

14

310351A1

SHIM

pivot pin mounting

10шт.

15

310250A1

BUSHING

pivot pin

2шт.

16

310425A1

SPACER

mounting

2шт.

17

426-872

BOLT,Hex, 1/2" - 13 x 4-1/2", Gr 8

2шт.

19

219-1

LUBE NIPPLE,1/8" - 27 NPTF

2шт.

20

310073A1

BUSHING

pivot

1шт.

Выбрано товаров: 19