Запчасти Case 689G (09-34) - QUICK ATTACH FRAME INSTALLATION (09) - CHASSIS

Схема запчастей Case 689G - (09-34) - QUICK ATTACH FRAME INSTALLATION (09) - CHASSIS
20
25
28
27
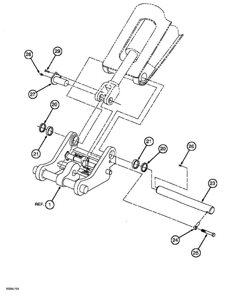
1
29
23
24
20
21
21
26
FIT
1:1
100%

Артикул

Название

Примечание

Количество

1

309874A1

BRACKET

FRAME quick attach, parts list Figure 9-32

1шт.

20

314075A1

THRUST WASHER

2шт.

21

314070A1

RACE

bearing, thrust

2шт.

23

318031A1

PIN

quick attach frame

1шт.

24

310379A1

BRACKET

RETAINER clevis pin

1шт.

25

310369A1

BOLT

flange

1шт.

26

219-1

LUBE NIPPLE,1/8" - 27 NPTF

1шт.

27

314043A1

PIN

cylinder mounting

1шт.

28

219-1

LUBE NIPPLE,1/8" - 27 NPTF

1шт.

29

310448A1

BOLT

hex flange, 3/8 NC x 3/4 inch

2шт.

Выбрано товаров: 10