Запчасти Case 689G (02-24) - CYLINDER BLOCK (02) - ENGINE

Схема запчастей Case 689G - (02-24) - CYLINDER BLOCK (02) - ENGINE
11
5
3
34
17
20
18
28
40
33
10
16
36
15
19
8
9
31
41
25
38
24
30
7
14
27
2
22
6
26
1
35
13
23
21
32
12
39
4
37
29
39
FIT
1:1
100%

Артикул

Название

Примечание

Количество

314647A1

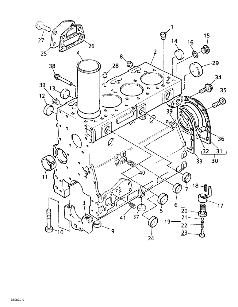
SKELETON ENGINE

BLOCK ASSEMBLY, short, inlcudes crankshaft, pistons, rings, connecting rods, bearings and items 1 thru 27 below

1шт.

314648A1

CYLINDER BLOCK

ASSEMBLY, Includes: Ref. 1 - 27

1шт.

1

291955A1

DOWEL

locating, cylinder head

2шт.

2

NSS

NOT SOLD SEPARAT

BLOCK cylinder

1шт.

3

NSS

NOT SOLD SEPARAT

CAP bearing

5шт.

4

293041A1

SLEEVE

LINER piston, press fit, if used

4шт.

4

314649A1

SLEEVE CYLINDER

LINER piston, slip fit, if used

4шт.

5

3108824R1

PLUG

frost

5шт.

6

218257A1

PLUG

frost

1шт.

7

3108824R1

PLUG

frost

1шт.

8

217-442

PLUG,3/4" - 14

hex socket headless, 3/4 inch PT

1шт.

9

795652R1

BUSHING

SLEEVE piston cap

10шт.

10

E115002

SCREW

hex, bearing cap

10шт.

11

291951A1

BUSHING

split

1шт.

12

218263A1

PLUG

frost

4шт.

13

291952A1

PLUG

frost

3шт.

14

218263A1

PLUG

frost

2шт.

15

217811A1

PLUG

cylinder block

1шт.

16

218269A1

WASHER

seal

1шт.

17

293176A1

JET

NOZZLE ASSEMBLY valve, Includes: Ref. 18

4шт.

18

293000A1

DOWEL

nozzle mounting

1шт.

19

218619A1

VALVE POPPET

ASSEMBLY pressure relief, Includes: Ref. 20 - 23

4шт.

20

NSS

NOT SOLD SEPARAT

BODY valve

4шт.

21

218621A1

BALL

check

1шт.

22

218622A1

SPRING

return

1шт.

23

218623A1

SPRING SEAT

RETAINER spring

1шт.

24

292995A1

PLUG

frost

1шт.

25

281632A1

LARGE PLATE

PLATE, LARGE cover

1шт.

26

218651A1

GASKET

filter head, was 292013A1

1шт.

27

218652A1

SCREW

hex flange

4шт.

28

F62484

PLUG

expansion

1шт.

29

291953A1

WASHER

PLUG expansion

1шт.

30

218270A1

HOUSING

COVER ASSEMBLY crankshaft end, Includes: Ref. 31 and 32

1шт.

31

NSS

NOT SOLD SEPARAT

COVER crankshaft end

1шт.

32

218271A1

SEAL

crankshaft

1шт.

33

360097A1

SEAL

cover, was 292011A1

1шт.

34

844-8020

BOLT,Hvy Hex, M8 x 20mm, Cl 8.8

12шт.

35

291954A1

SCREW

hex socket

2шт.

36

3235725R1

DOWEL

alignment, crankshaft cover

2шт.

38

218264A1

PLUG

special

1шт.

39

3118148R1

PLUG

hex

2шт.

40

3118147R1

PLUG

square head

2шт.

41

314865A1

PLUG

headless

4шт.

Выбрано товаров: 43