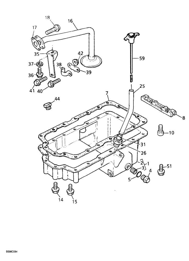
Запчасти Case 689G (02-40) - OIL PAN (02) - ENGINE

Схема запчастей Case 689G - (02-40) - OIL PAN (02) - ENGINE
39
37
7
8
44
3
36
16
31
42
5
26
2
14
41
25
18
38
40
4
17
59
35
1
51
10
15
FIT
1:1
100%

Артикул

Название

Примечание

Количество

1

218384A1

PAN, ENGINE OIL

PAN, OIL ASSEMBLY, Includes: Ref. 2 and 3

1шт.

2

NSS

NOT SOLD SEPARAT

PAN oil

1шт.

3

218385A1

BUSHING

threaded

2шт.

4

218386A1

PLUG

hex flange, drain

2шт.

5

218387A1

O-RING

drain plug

2шт.

7

314680A1

OIL PAN GASKET SET

oil pan

1шт.

8

281604A1

SPECIAL CLAMP

SUPPORT pan

1шт.

10

862-6020

HEX SOC SCREW,M6 x 20mm, Cl 12.9

hex socket, 6 - 1.0 x 20 mm, class 12.9

2шт.

14

218391A1

SCREW

hex flange

6шт.

15

844-8020

BOLT,Hvy Hex, M8 x 20mm, Cl 8.8

12шт.

16

218392A1

PIPE

oil sump

1шт.

17

314681A1

JOINT

GASKET sump tube

1шт.

18

218054A1

SCREW

hex flange

2шт.

25

219711A1

TUBE

dipstick, Includes: Ref. 26

1шт.

26

NSS

NOT SOLD SEPARAT

ADAPTER straight, compression

1шт.

31

218396A1

OLIVE

FITTING compression, straight

1шт.

35

218397A1

SUPPORT

BRACKET

1шт.

36

844-8016

BOLT,Hex, M8 x 16mm, Cl 8.8

1шт.

37

218398A1

WASHER

flat

1шт.

38

218399A1

CLAMP

tube

1шт.

39

218400A1

LARGE PLATE

PLATE, LARGE tube clamp

1шт.

40

844-6016

BOLT,Hvy Hex, M6 x 16mm, Cl 8.8

1шт.

41

218002A1

SCREW

hex flange

1шт.

42

825-2406

FLANGE NUT,M6 x 1, Cl 8.8

2шт.

44

218403A1

PLUG

hex

1шт.

51

218021A1

SCREW

hex flange

2шт.

59

219712A1

DIPSTICK

fluid level

1шт.

Выбрано товаров: 27