Запчасти Case 689G (03-06) - ACCELERATOR PEDAL AND BRACKET (03) - FUEL SYSTEM

Схема запчастей Case 689G - (03-06) - ACCELERATOR PEDAL AND BRACKET (03) - FUEL SYSTEM
12
19
13
2
2
17
10
4
1
3
9
18
15
5
19
14
6
11
8
16
17
17
7
FIT
1:1
100%

Артикул

Название

Примечание

Количество

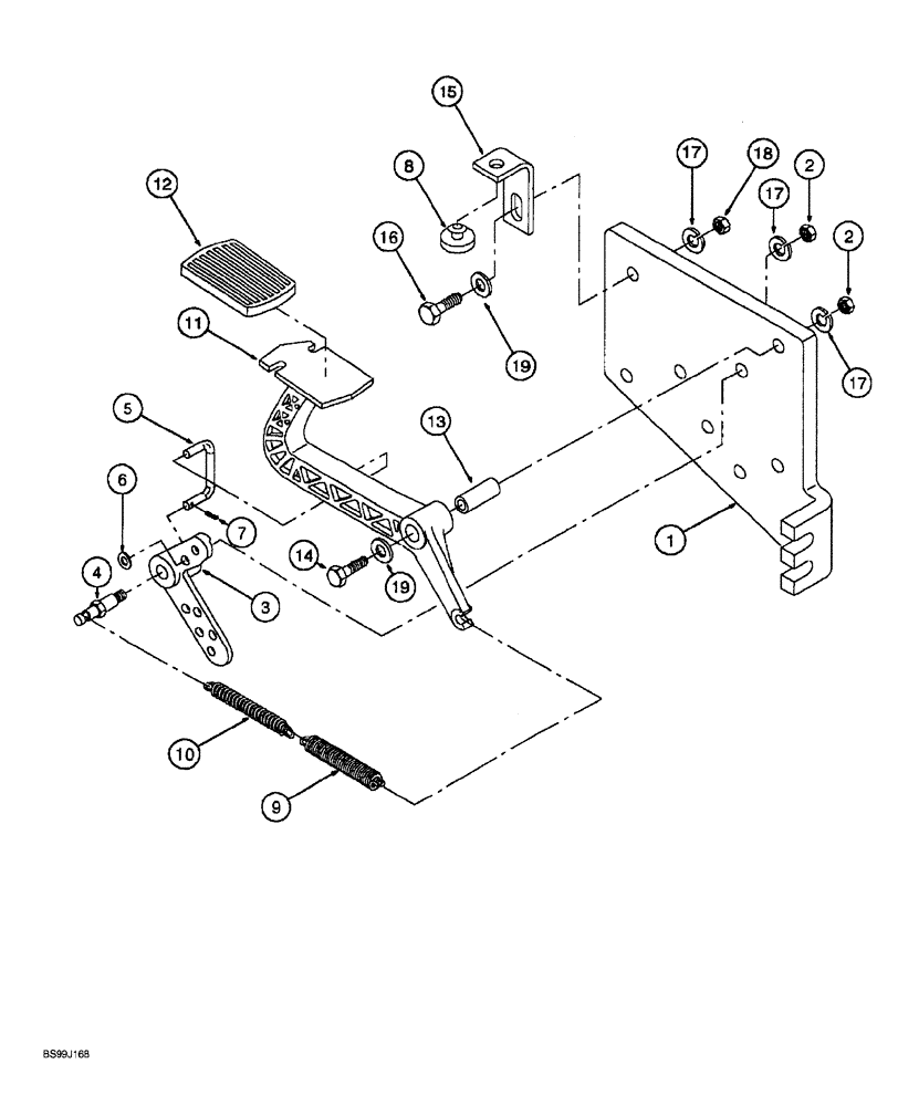
1

309890A1

BRACKET

throttle pedal mounting

1шт.

2

829-1410

NUT,M10 x 1.5, Cl 10.9

2шт.

3

310288A1

ARM ASSY.

BELLCRANK throttle

1шт.

4

310280A1

SHAFT

pivot, bellcrank

2шт.

5

310285A1

ROD

, Serial Range: bellcrank-pedal

1шт.

6

895-11006

WASHER,6.6mm ID x 12mm OD x 1.6mm Thk

1шт.

7

43248

BOLT,Hex, M10 x 1.5 x 40mm, Cl 10.9

PIN cotter, 1/16 x 1/2 inch

1шт.

8

310283A1

BUMPER

RETAINER spring

1шт.

9

310287A1

SPRING

return, brake pedal

1шт.

10

310281A1

SPRING

return, brake pedal

1шт.

11

310286A1

PEDAL

accelerator

1шт.

12

310282A1

PAD

accelerator pedal

1шт.

13

310279A1

TUBE

pivot

1шт.

14

814-10070

BOLT,Hex, M10 x 1.5 x 70mm, Cl 8.8

1шт.

15

310284A1

BRACKET

pedal stop

1шт.

16

614-10025

BOLT,Hex, M10 x 1.5 x 25mm, Cl 8.8

1шт.

17

310102A1

LOCK WASHER

3шт.

18

310289A1

JAM NUT

hex, jam, 10mm - 1.5

1шт.

19

895-11010

WASHER,11mm ID x 20mm OD x 2mm Thk

2шт.

Выбрано товаров: 19