Запчасти Case 689G (06-40) - TRANSMISSION COMPONENTS, PUMP DRIVE AND IDLER GEARS (06) - POWER TRAIN

Схема запчастей Case 689G - (06-40) - TRANSMISSION COMPONENTS, PUMP DRIVE AND IDLER GEARS (06) - POWER TRAIN
3
16
6
21
25
22
24
15
27
10
11
12
8
5
7
2
18
9
1
26
13
17
14
4
19
20
23
FIT
1:1
100%

Артикул

Название

Примечание

Количество

309882A1

TRANSMISSION

ASSEMBLY complete, parts list Figures 6-34 - 6-50, Includes: Ref. 1 - 27

1шт.

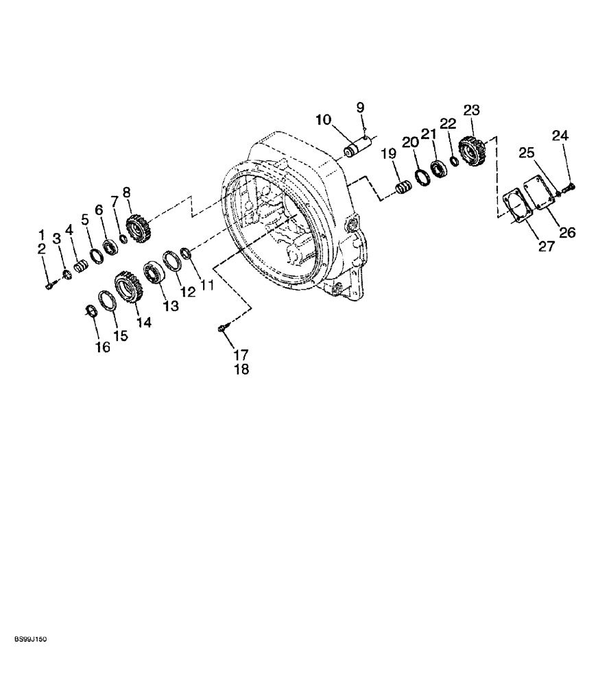
1

361415A1

SCREW

bearing support

2шт.

2

309147A1

LOCK WASHER

2шт.

3

309164A1

RING

locating

1шт.

4

361420A1

SUPPORT

bearing

1шт.

5

309193A1

RING, SNAP

RING SNAP retaining

1шт.

6

309194A1

SPACER

BEARING pump drive gear

1шт.

7

309164A1

RING

locating

1шт.

8

309168A1

GEAR

pump drive

1шт.

9

361441A1

BALL

lock

1шт.

10

309172A1

SHAFT

stub, idler gear

1шт.

11

309164A1

RING

locating

1шт.

12

310234A1

SCREW

hex

1шт.

13

309171A1

BALL BEARING

idler gear

1шт.

14

309170A1

GEAR

idler

1шт.

15

309169A1

RING, SNAP

RING SNAP retaining

1шт.

16

309164A1

RING

locating

1шт.

17

361415A1

SCREW

bearing support

2шт.

18

309372A1

LOCK WASHER

2шт.

19

361420A1

SUPPORT

bearing

1шт.

20

309169A1

RING, SNAP

RING SNAP retaining

1шт.

21

309171A1

BALL BEARING

pump drive gear

1шт.

22

309164A1

RING

locating

1шт.

23

309190A1

GEAR

drive, auxiliary pump

1шт.

24

361451A1

SCREW

hex

4шт.

25

361452A1

LOCK WASHER

lock

4шт.

26

361453A1

COVER

gear

1шт.

27

361454A1

GASKET

cover

1шт.

Выбрано товаров: 28