Запчасти Case BPDHP335 (9-08) - MIXING PUMP SYSTEM

Схема запчастей Case BPDHP335 - (9-08) - MIXING PUMP SYSTEM
FIT
1:1
100%

Артикул

Название

Примечание

Количество

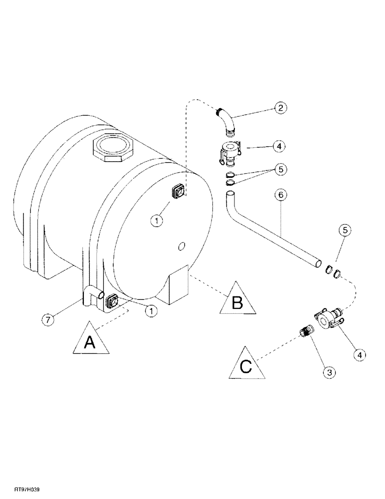
1

98060516

FITTING

- bulkhead, 2 inch

2шт.

2

98029012

ADAPTER,2" Male Thread

ELBOW - 90 degree, 2 inch PT x male coupler

1шт.

3

98200618

ADAPTER

- threaded, male, 2 inch PT

1шт.

4

98200318

COUPLING

COUPLER - hose barb, female, 2 inch

2шт.

5

214-1428

HOSE CLAMP,#28, 1.31" - 2.25", Type F Worm

CLAMP, HOSE, #28, 1.31/2.25 Type F Worm

4шт.

6

307358A1

HOSE

- 2 x 36 inch

1шт.

7

301966A1

TUBE,1" ID, 2.375" OD, 12, 4.5" Length

- siphon, 2 inch

1шт.

Выбрано товаров: 0