Качественные детали и логистика
Оригинальные и аналоговые запчасти с доставкой по России, Казахстану и Беларуси
©2022 PartSell ООО "Система" ИНН 2463123282 ОГРН 1212400004838
Центральный офис: г. Красноярск, Академика Киренского, д.87, пом.4
Телефон: 8 (800) 777-65-74 Email: zakaz@partsell.ru
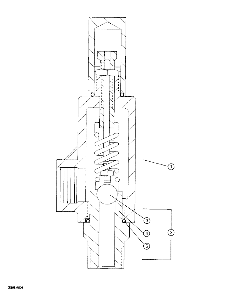
(9-20) - RELIEF VALVE ASSEMBLY
№
Артикул
Название
Примечание
Количество
1
99225320
VALVE, CONTROL
VALVE - relief, bentonite (See Figure 9-12), Includes: Ref. 2 - 5
1шт.
2
99225320A
KIT
- relief valve repair, Includes: Ref. 3 - 5
3
BALL - relief valve
4
SEAT - ball
5
O-RING - relief valve
Выбрано товаров: 0