Запчасти Case BPM335 (09-29) - BPM335 FRAME AND BENTONITE TANK

Схема запчастей Case BPM335 - (09-29) - BPM335 FRAME AND BENTONITE TANK
17
10
1
4
12
18
15
2
20
19
16
14
7
13
3
9
FIT
1:1
100%

Артикул

Название

Примечание

Количество

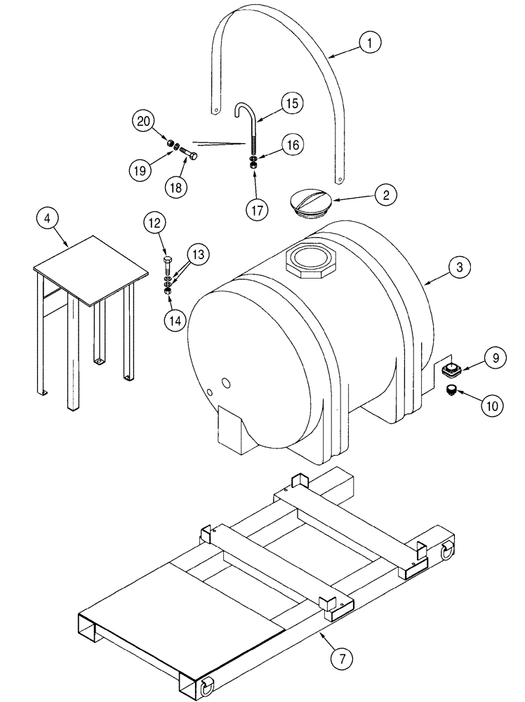
1

99040301

STRAP

2шт.

2

NSS

NOT SOLD SEPARAT

Cap

1шт.

3

99040300

TANK

335 gal, Bentonite Tank

1шт.

4

349249A1

SUPPORT

1шт.

7

98600335

SUPPORT

Skid

1шт.

9

98060516

FITTING

2 in blkhd

1шт.

10

98020032

PLUG

2 in, Square Head, Drain

1шт.

12

413-824

BOLT,Hex, 1/2" - 13 x 1-1/2", Gr 5

4шт.

13

496-21053

WASHER,17/32" x 1 1/16" x .134"

8шт.

14

231-1448

NUT,1/2"-13, GB

4шт.

15

325058A1

BOLT

3/8 x 5, J-Type

2шт.

16

496-21041

WASHER,13/32" x 13/16" x .089", HDN

2шт.

17

231-1446

NUT,3/8" - 16, Gr 5

2шт.

18

461-73116

HEX SOC SCREW,Btn Hd, 5/16"-18 x 1"

5/16 x 1

2шт.

19

496-21034

WASHER,11/32" x 11/16" x 0.89", HDN

4шт.

20

231-1445

NUT,5/16"-18, GB

2шт.

Выбрано товаров: 16