Запчасти Case 475 (078) - TRANSMISSION HOUSING AND FRONT COVERS (21) - TRANSMISSION

Схема запчастей Case 475 - (078) - TRANSMISSION HOUSING AND FRONT COVERS (21) - TRANSMISSION
FIT
1:1
100%

Артикул

Название

Примечание

Количество

A54118

TRANSMISSION - see pages 78 thru 98 for complete transmission

1шт.

A51897

TRANSMISSION - see pages 78 thru 98 for complete transmission

1шт.

A51273

HOUSING

HOUSEING ASSEMBLY - A54118 transmission

1шт.

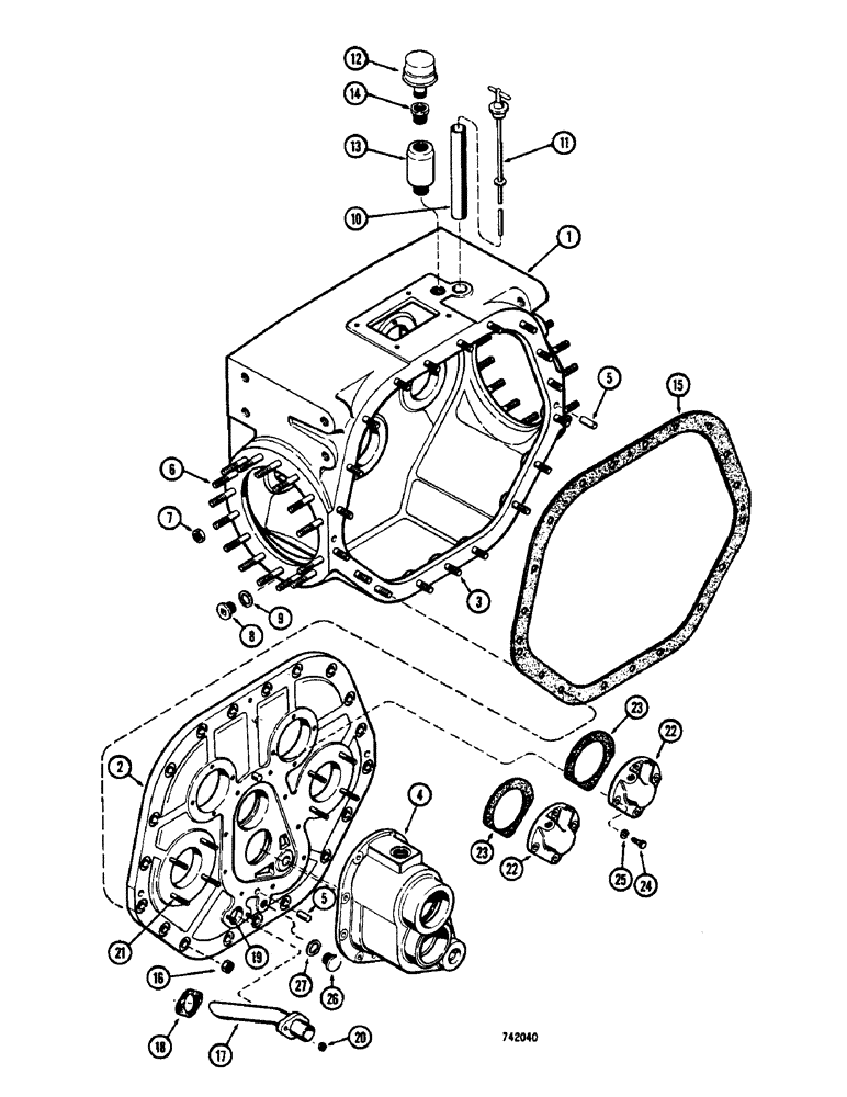
1

NSS

NOT SOLD SEPARAT

HOUSING - transmission

1шт.

2

NSS

NOT SOLD SEPARAT

COVER - housing, front

1шт.

3

A50249

STUD

- cover to transmission housing (9/16" - 12 NC x 2-3/8")

19шт.

4

NSS

NOT SOLD SEPARAT

HOUSING - two speed shift (See Fig. 82 for internal parts)

1шт.

5

A50247

DOWEL

PIN - cover & housing locating (1/2" x 1-1/4")

4шт.

6

A50021

STUD

- L.H. & R. H. final drive (1/2" - 13 NC x 3")

30шт.

7

230-4618

LOCK NUT,1/2"-20, GA

NUT - hex., lock (1/2" - 13NC)

30шт.

8

R14777

PLUG

- drain, transmission housing

1шт.

9

A58613

SEALING WASHER

WASHER - special

1шт.

10

A50018

TUBE

- oil level gauge

1шт.

11

A50225

DIPSTICK

- oil level gauge

1шт.

12

A27173

BREATHER

ASSEMBLY - transmission

1шт.

13

A50116

BAFFLE

- breather

1шт.

14

221-58

BUSHING,Hex, 3/4" x 1/4" NPT

- reducer, 3/4" to 1/4"

1шт.

15

G35334

GASKET

- front, Serial Range: cover-housing

1шт.

16

232-4119

LOCK NUT,9/16"-12, GC

NUT - lock, 9/16" - 13 NC hex.

19шт.

17

A50110

TUBE

SNORKEL - transmission oil suction

1шт.

18

A50109

GASKET

- snorkel tube

1шт.

19

A50362

STUD

- snorkel mounting (3/8" - 16 NC x 1-3/8")

2шт.

20

25-106

NUT,3/8"-16, G5

- hex., 3/8" - 16 NC

2шт.

21

A50241

STUD

- brake plate mounting (1/2" - 13 NC x 2-1/8")

8шт.

22

A50057

COVER

- oil inlet (Hi-Low clutch)

2шт.

23

A50056

GASKET

- front inlet cover

2шт.

24

13-618

BOLT,Hex, 3/8" - 16 x 1-1/8", Gr 5

HHCS - 3/8" - 16 NC x 1-1/4"

8шт.

25

A22317

WASHER

- 25/64" x 11/16" x 3/64" copper

8шт.

26

214389

PLUG,3/4" - 16 ORB

1шт.

27

218-5008

O-RING,0.116" Thk x 0.924" ID, -912, Cl 6, 90 Duro

SEAL - "O" ring (15/16" x 1-5/32 x 1/8")

1шт.

Выбрано товаров: 30