Запчасти Case 475 (090) - TRANSMISSION BRAKES AND CYLINDER (21) - TRANSMISSION

Схема запчастей Case 475 - (090) - TRANSMISSION BRAKES AND CYLINDER (21) - TRANSMISSION
FIT
1:1
100%

Артикул

Название

Примечание

Количество

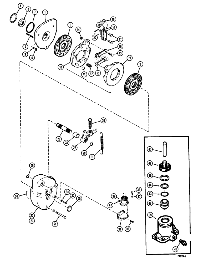
1

A50184

FLANGE

PLATE - mounting, L.H. & R.H. brake

2шт.

2

A50241

STUD

- brake plate mtg. (1/2" - 13 NC x 2-1/8")

8шт.

3

92-8

LOCK WASHER,1/2"

8шт.

4

25-108

NUT,1/2"-13, G5

- hex., 1/2" - 13 NC

8шт.

5

A50061

SHIM,0.076mm Thk

(.003"), Pinion shaft bearing 0.076mm Thk

1шт.

5

A50062

SHIM,0.127mm Thk

(.005"), Pinion shaft bearing 0.127mm Thk

1шт.

5

A50063

SHIM,0.254mm Thk

(.010"), Pinion shaft bearing 0.254mm Thk

1шт.

6

A50418

OIL SEAL

- oil, pinion shaft (1-9/16" x 2-7/16" x 7/16")

2шт.

7

A50055

SEALING RING

RING - seal, brake plate (3-1/4" x 3-7/16" x 3/32")

2шт.

8

RESERVED

1шт.

R18531

DISC

ACTUATOR ASSEMBLY - brake

2шт.

9

G100318

BRAKE DISC

DISC - double, brake (Bonded)

4шт.

Ref. 9 is P/N G100318, also not part of assembly P/N R18531.

1шт.

10

NSS

NOT SOLD SEPARAT

PLATE - brake actuator

2шт.

11

211-19

BALL,7/8" Dia

- steel (.) 7/8" Dia

5шт.

12

A30897

SPRING

- actuator extension

3шт.

13

A30898

STEP BOLT

STUD - brake link

2шт.

14

25-155

JAM NUT,Jam, 5/16"-24, G5

- hex., jam (5/16" - 24 NF)

2шт.

15

R18533

LINK

- single rib, actuator

1шт.

16

F77868

LINK

- yoke, actuating link

1шт.

17

R15370

PIN

- link, brake pull

4шт.

18

R15369

LINK

- brake pull

4шт.

19

R15372

LEVER

- brake link pull

2шт.

20

132-26

COTTER PIN

Pin, Split (Cotter), 3/32" x 3/4", link pin

4шт.

21

13-856

BOLT,Hex, 1/2" - 13 x 3-1/2", Gr 5

6шт.

22

A50206

COVER

- brake, R.H.

1шт.

23

A50207

COVER

- brake, L.H.

1шт.

24

R14605

PIN

- cleaner, brake housing drain hole

4шт.

25

41-1628

PLUG,Cup, 1 3/4", Stainless

- brake cover (1-3/4" cup type)

2шт.

26

A50514

SHAFT

- brake actuating

2шт.

27

A50393

LEVER

- adjusting, brake

2шт.

28

A50392

BUSHING

SPACER - brake shaft

2шт.

29

B18208

SNAP RING,#100, Ext

brake shaft #100, Ext

4шт.

30

A50395

ADJUSTMENT SCREW,Locking, 3/4" - 16 x 2.75"

BOLT - brake lever, special (3/4" - 16 NF x 2-3/4")

2шт.

31

A50589

SPRING

- return, brake lever

2шт.

32

13-636

BOLT,Hex, 3/8" - 16 x 2-1/4", Gr 5

2шт.

33

25-106

NUT,3/8"-16, G5

- hex., lock (3/8" - 16 NC)

2шт.

34

A50119

BRACKET

- brake cylinder mounting

2шт.

35

166-45

12 PT SCREW,Flg, 3/8" - 16 x 1", Gr 8

BOLT - ferry head, 12 pt. (3/8" - 16 NC x 2")

8шт.

36

13-412

BOLT,Hex, 1/4" - 20 x 3/4", Gr 5, Full Thd

4шт.

37

92-4

LOCK WASHER,1/4"

WASHER, LOCK, 1/4"

4шт.

38

A50557

CYLINDER

ASSEMBLY - brake, L.H. & R.H.

2шт.

39

NSS

NOT SOLD SEPARAT

BODY - brake cylinder

1шт.

40

A41489

ROD

- push, brake cylinder

1шт.

41

A41491

BLEEDER,1/4" - 28 x 23.37mm

- bleeder, cylinder

1шт.

A42875

SEAL

KIT - brake cylinder repair

1шт.

42

A41490

BOOT

- dust, push rod

1шт.

43

NSS

NOT SOLD SEPARAT

SEAL - "O" ring

1шт.

44

NSS

NOT SOLD SEPARAT

RING - piston

1шт.

45

A30975

SNAP RING,1.188", Int, #118

piston 1.188", Int, #118

1шт.

46

A42874

PISTON

- cylinder

1шт.

47

222-1062

PLUG,7/16"-24, Inv Fl

hex 7/16"-24, Inv Fl

2шт.

Выбрано товаров: 52