Запчасти Case 475 (064) - PARKING BRAKE (33) - BRAKES & CONTROLS

Схема запчастей Case 475 - (064) - PARKING BRAKE (33) - BRAKES & CONTROLS
FIT
1:1
100%

Артикул

Название

Примечание

Количество

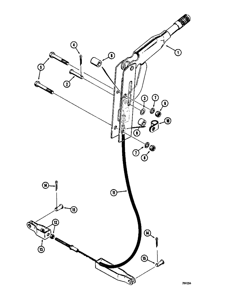
D40687

LEVER

BRAKE LEVER - parking

1шт.

1

NSS

NOT SOLD SEPARAT

LEVER - parking brake

1шт.

2

D42458

PIN

- clevis

1шт.

3

95-5

WASHER,3/8" x 7/8" x .083"

- standard wrot, 5/16"

1шт.

4

132-26

COTTER PIN

Pin, Split (Cotter), 3/32" x 3/4"

1шт.

5

13-524

BOLT,Hex, 5/16" - 18 x 1-1/2", Gr 5

- 5/16"-18 NC x 1-1/2"

2шт.

6

D40685

SPACER

- lever

1шт.

7

92-5

LOCK WASHER,5/16"

2шт.

8

9635082

NUT,5/16" - 18, Gr 5

- hex., 5/16" - 18 NC

2шт.

9

30863

SPACER - clamp

1шт.

10

D40684

CLAMP,12.7mm ID, 8.78mm Bolt Hole, P Type

- cable guide

1шт.

D44006

CABLE

ASSEMBLY - brake

1шт.

11

NSS

NOT SOLD SEPARAT

CABLE - brake

1шт.

12

86637933

JAM NUT,5/16" - 24, Gr 5

2шт.

13

D43802

CLEVIS

- cable

1шт.

14

132-27

COTTER PIN,3/32" x 7/8"

Pin, Split (Cotter), 3/32" x 7/8"

2шт.

15

141-3

CLEVIS PIN,5/16" x .940"

PIN, CLEVIS, 5/16" x .940"

2шт.

Выбрано товаров: 17