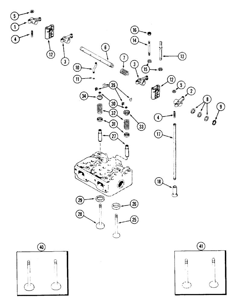
Запчасти Case 475 (014) - VALVE MECHANISM, 336BD DIESEL ENGINE (10) - ENGINE

Схема запчастей Case 475 - (014) - VALVE MECHANISM, 336BD DIESEL ENGINE (10) - ENGINE
FIT
1:1
100%

Артикул

Название

Примечание

Количество

1

A148137

ROCKER ARM

ARM ASSEMBLY - rocker, exhaust valve (1st and 3rd cylinder) (Includes ref 4 and 5) (Replaces A58655)

2шт.

2

A148138

ARM

ASSEMBLY - rocker, exhaust valve (2nd and 4th cylinder) (Includes ref 4 and 5) (Replaces A58656)

2шт.

3

A148136

ARM

ASSEMBLY - rocker, intake valve (Replaces A58654), Includes: Refs. 4, 5

4шт.

4

A21105

ADJUSTMENT SCREW,3/8" - 24 x 1 9/16"

SCREW - adjusting, rocker arm

1шт.

5

25-116

NUT,Hex, 3/8"-24, G5

- lock, adjusting screw (3/8" NF hex)

1шт.

6

A150545

SHAFT

- rocker arm (Replaces A57532)

2шт.

7

A27877

SPRING

- rocker shaft

2шт.

8

A27878

WASHER

- rocker shaft

1шт.

9

B18206

SNAP RING,#87, Ext

Ring, Snap, , rocker shaft #87, Ext

4шт.

10

A58657

TUBE

- oil, rocker shaft

2шт.

11

A27880

O-RING,0.07" Thk x 0.18" ID, -8, Cl 5, 75 Duro

- oil tube

2шт.

12

A61128

BRACKET

- rocker arm shaft

4шт.

13

A67121

STUD

- bracket (7/16" NC x 6")

4шт.

14

A58659

STUD

- bracket (7/16" NC x 4-5/16")

4шт.

15

195-29

WASHER,7/16"

- 7/16 x 15/16 x 1/16" (11.1 x 23.8 x 1.6 MM)

8шт.

16

25-107

NUT,7/16"-14, G5

- 7/16" NC hex

4шт.

17

A157328

ROD

- push (Replaces A141841)

8шт.

18

A20865

TAPPET

LIFTER - push rod (Standard), 0.810" (20.574 MM) OD

8шт.

18

A21857

TAPPET

LIFTER - push rod (Oversize), 0.819" (20.803 MM) OD

1шт.

25

NSS

NOT SOLD SEPARAT

VALVE - exhaust (Order ref 40)

4шт.

26

A66192

INSERT

- exhaust valve seat

4шт.

27

A41783

GUIDE

- intake and exhaust valves

8шт.

28

NSS

NOT SOLD SEPARAT

VALVE - intake (Order ref 41)

4шт.

29

A60557

INSERT

- intake valve seat

4шт.

30

A58628

SEAL,8mm ID x 13.77mm OD x 2.16mm Thk

- valve stem

8шт.

31

A66328

SEAT

- valve springs

8шт.

32

A66444

SPRING

- valves

8шт.

33

A66336

ROTATOR

ROTO CAP - exhaust valve

4шт.

34

A66326

RETAINER

- intake valve

4шт.

35

A27872

LOCK

- valve spring keepers

16шт.

40

A41753

VALVE

KIT - exhaust (Set of 2)

2шт.

41

A41754

VALVE

KIT - intake (Set of 2)

2шт.

Выбрано товаров: 32